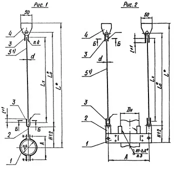
Подвеска Л8-522.000
Подвеска Л8-522.000 жесткая
Подвески Л8-522.000 применяются для трубопроводов ТЭС и АЭС с параметрами среды:
Р у<4,0МПа (40 кгс/см 2) и tраб<425⁰С.
Подвески применяются для объектов, строящихся в районах с расчетной температурой наружного воздуха не ниже минус 30⁰С.
Пример условного обозначения жесткой подвески для горизонтального трубопровода Дн 32мм из углеродистой стали: ПОДВЕСКА - 32 - Л8 - 522.000 - 04
![]()
Подвески жесткие Л8-522.000
Применяются для трубопроводов ТЭС и АЭС с параметрами среды:
Р у<4,0МПа (40 кгс/см 2) и tраб<425⁰С.
Подвески применяются для объектов, строящихся в районах с расчетной температурой наружного воздуха не ниже минус 30⁰С.
| Обозначение подвесок | Рис. | L | L0 | Dн | Допускаемая нагрузка, кН (кгс) | A | H | l | d | Масса, кг |
|---|---|---|---|---|---|---|---|---|---|---|
| Л8-522.000 | 1 | Lx+125 | Lx+25 | 14; 16; 18 | 1,0 (100) | 52 | 62 | 25 | 6 | 0,36 |
| Л8-522.000-01 | 1 | Lx+125 | Lx+25 | 14; 16; 18 | 1,0 (100) | 52 | 62 | 25 | 6 | 0,36 |
| Л8-522.000-02 | 1 | Lx+130 | Lx+25 | 25; 28 | 1,0 (100) | 64 | 68 | 25 | 6 | 0,40 |
| Л8-522.000-03 | 1 | Lx+130 | Lx+25 | 25; 28 | 1,0 (100) | 64 | 68 | 25 | 6 | 0,40 |
| Л8-522.000-04 | 1 | Lx+185 | Lx+35 | 32 | 2,0 (200) | 70 | 114 | 28 | 8 | 0,56 |
| Л8-522.000-05 | 1 | Lx+185 | Lx+35 | 32 | 2,0 (200) | 70 | 114 | 28 | 8 | 0,56 |
| Л8-522.000-06 | 1 | Lx+185 | Lx+35 | 38 | 2,0 (200) | 76 | 114 | 28 | 8 | 0,58 |
| Л8-522.000-07 | 1 | Lx+185 | Lx+35 | 38 | 2,0 (200) | 76 | 114 | 28 | 8 | 0,58 |
| Л8-522.000-08 | 1 | Lx+190 | Lx+35 | 45 | 2,0 (200) | 84 | 118 | 28 | 8 | 0,64 |
| Л8-522.000-09 | 1 | Lx+190 | Lx+35 | 45 | 2,0 (200) | 84 | 118 | 28 | 8 | 0,64 |
| Л8-522.000-10 | 1 | Lx+195 | Lx+35 | 57 | 2,0 (200) | 96 | 124 | 28 | 10 | 1,10 |
| Л8-522.000-11 | 1 | Lx+195 | Lx+35 | 57 | 2,0 (200) | 96 | 124 | 28 | 10 | 1,10 |
| Л8-522.000-12 | 2 | Lx+165 | Lx+35 | 32 | 3,0 (300) | 300 | 96 | 28 | 8 | 1,68 |
| Л8-522.000-13 | 2 | Lx+165 | Lx+35 | 32 | 3,0 (300) | 300 | 96 | 28 | 8 | 1,68 |
| Л8-522.000-14 | 2 | Lx+165 | Lx+35 | 38 | 3,0 (300) | 310 | 96 | 28 | 8 | 1,76 |
| Л8-522.000-15 | 2 | Lx+165 | Lx+35 | 38 | 3,0 (300) | 310 | 96 | 28 | 8 | 1,76 |
| Л8-522.000-16 | 2 | Lx+165 | Lx+35 | 45 | 3,0 (300) | 320 | 96 | 28 | 8 | 1,88 |
| Л8-522.000-17 | 2 | Lx+165 | Lx+35 | 45 | 3,0 (300) | 320 | 96 | 28 | 8 | 1,88 |
| Л8-522.000-18 | 2 | Lx+165 | Lx+35 | 57 | 3,0 (300) | 340 | 96 | 28 | 8 | 2,05 |
| Л8-522.000-19 | 2 | Lx+165 | Lx+35 | 57 | 3,0 (300) | 340 | 96 | 28 | 8 | 2,05 |
Подбор и поставка
Уточним наличие и подготовим КП по этой позиции
Поможем с подбором исполнения, проверим доступность на складе и отправим коммерческое предложение по выбранной позиции или аналогам.
Смотрите также
Другие подкатегории раздела
Опоры подвижные трубопроводов
подвижные скользящие опоры трубопроводов. Подбор,консультация,продажа со склада в Москве, доставка по РФ
Накладка Т94 серия 4.903-10 выпуск 1 на тройники усиливающая
Накладка Т94 серия 4.903-10 выпуск 1
Крепления газопроводов УКГ Серия 5.905 - 18.05: Узлы и детали крепления газопроводов
Серия 5.905 - 18.05: Узлы и детали крепления газопроводов
Опоры водопровода в футляре
Опоры водопровода в футляре.Подбор,консультация,продажа со склада в Москве, доставка по РФ
Опоры 313.ТС-008.000 скользящие для трубопроводов в ППУ изоляции
Опоры 313.ТС-008.000 скользящие для трубопроводов в ППУ изоляции.Подбор,консультация,продажа со склада в Москве, доставка по РФ
Опоры ТД-1-487-1997.00.000 скользящие для трубопроводов в ППУ изоляции
Опоры ТД-1-487-1997.00.000 Подбор,консультация,продажа со склада в Москве, доставка по РФ
Серия 5.900-7 выпуск 3. Серия 5.900-7 выпуск 4
Серия 5.900-7 выпуск 3. Серия 5.900-7 выпуск 4.Подбор,консультация,продажа со склада в Москве, доставка по РФ
Опоры ГОСТ 30732-2006 скользящие опоры для стальных трубопроводов
Опоры ГОСТ 30732-2006/Подбор,консультация,продажа со склада в Москве, доставка по РФ