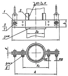
Хомут Л8-519.000
Хомут Л8-519.000 для вертикальных трубопроводов
Применяется для крепления станционных трубопроводов ТЭС и АЭС с параметрами среды:
Р у<4,0МПа (40 кгс/см 2) tраб<425⁰С для объектов, строящихся в районах с расчетной температурой наружного воздуха не ниже минус 30⁰С.
![]()
| Обозначение хомутов | Dн | Допускаемая вертикальная нагрузка, кН (кгс) | A | A1 | L | b | Масса, кг |
|---|---|---|---|---|---|---|---|
| Л8-519.000 | 32 | 2,97 (300) | 300 | 64 | 330 | 40 | 1,27 |
| Л8-519.000-01 | 32 | 2,97 (300) | 300 | 64 | 330 | 40 | 1,27 |
| Л8-519.000-02 | 38 | 2,97 (300) | 310 | 70 | 340 | 40 | 1,35 |
| Л8-519.000-03 | 38 | 2,97 (300) | 310 | 70 | 340 | 40 | 1,35 |
| Л8-519.000-04 | 45 | 2,97 (300) | 320 | 80 | 360 | 40 | 1,47 |
| Л8-519.000-05 | 45 | 2,97 (300) | 320 | 80 | 360 | 40 | 1,47 |
| Л8-519.000-06 | 57 | 2,97 (300) | 340 | 100 | 380 | 40 | 1,62 |
| Л8-519.000-07 | 57 | 2,97 (300) | 340 | 100 | 380 | 40 | 1,62 |
Подбор и поставка
Уточним наличие и подготовим КП по этой позиции
Поможем с подбором исполнения, проверим доступность на складе и отправим коммерческое предложение по выбранной позиции или аналогам.
Смотрите также
Другие подкатегории раздела
Опоры подвижные трубопроводов
подвижные скользящие опоры трубопроводов. Подбор,консультация,продажа со склада в Москве, доставка по РФ
Накладка Т94 серия 4.903-10 выпуск 1 на тройники усиливающая
Накладка Т94 серия 4.903-10 выпуск 1
Крепления газопроводов УКГ Серия 5.905 - 18.05: Узлы и детали крепления газопроводов
Серия 5.905 - 18.05: Узлы и детали крепления газопроводов
Опоры водопровода в футляре
Опоры водопровода в футляре.Подбор,консультация,продажа со склада в Москве, доставка по РФ
Опоры 313.ТС-008.000 скользящие для трубопроводов в ППУ изоляции
Опоры 313.ТС-008.000 скользящие для трубопроводов в ППУ изоляции.Подбор,консультация,продажа со склада в Москве, доставка по РФ
Опоры ТД-1-487-1997.00.000 скользящие для трубопроводов в ППУ изоляции
Опоры ТД-1-487-1997.00.000 Подбор,консультация,продажа со склада в Москве, доставка по РФ
Серия 5.900-7 выпуск 3. Серия 5.900-7 выпуск 4
Серия 5.900-7 выпуск 3. Серия 5.900-7 выпуск 4.Подбор,консультация,продажа со склада в Москве, доставка по РФ
Опоры ГОСТ 30732-2006 скользящие опоры для стальных трубопроводов
Опоры ГОСТ 30732-2006/Подбор,консультация,продажа со склада в Москве, доставка по РФ