Подвески Л8-523.000
Подвески Л8-523.000 пружинные
Применяются для трубопроводов ТЭС и АЭС с параметрами среды:
Р у<4,0МПа (40 кгс/см 2) и tраб<425⁰С, по рис.1 и 2, по рис.3 – для неизолируемых трубопроводов tраб<45⁰С, для объектов, строящихся в районах с расчетной температурой наружного воздуха не ниже минус 30⁰С.
Пример условного обозначения пружинной подвески для вертикального трубопровода Дн 32мм из углеродистой стали: Подвеска Ду32 - Л8 - 523.000 - 12.
![]()
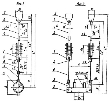
| бозначение подвесок | Рис. | Dн | Допускаемая нагрузка на подвеску, кН (кгс) | Макс. нагрузка на пружину, кН (кгс) | Макс. прогиб пружины, мм | A | H | d | Lпр | Ho | L | Lo | Масса, кг |
|---|---|---|---|---|---|---|---|---|---|---|---|---|---|
| Л8-523.000 | 1 | 32 | 1,96 (200) | 1,26 (128) | 70 | 70 | 114 | 8 | 270 | 143 | 686+Lx | 540+Lx | 6,2 |
| Л8-523.000-01 | 1 | 32 | 1,96 (200) | 1,26 (128) | 70 | 70 | 114 | 8 | 270 | 143 | 686+Lx | 540+Lx | 6,2 |
| Л8-523.000-02 | 1 | 38 | 1,96 (200) | 1,26 (128) | 70 | 76 | 114 | 8 | 270 | 143 | 686+Lx | 540+Lx | 6,2 |
| Л8-523.000-03 | 1 | 38 | 1,96 (200) | 1,26 (128) | 70 | 76 | 114 | 8 | 270 | 143 | 686+Lx | 540+Lx | 6,2 |
| Л8-523.000-04 | 1 | 45 | 1,96 (200) | 1,26 (128) | 70 | 84 | 118 | 8 | 270 | 143 | 690+Lx | 540+Lx | 6,3 |
| Л8-523.000-05 | 1 | 45 | 1,96 (200) | 1,26 (128) | 70 | 84 | 118 | 8 | 270 | 143 | 690+Lx | 540+Lx | 6,3 |
| Л8-523.000-06 | 1 | 45 | 2,96 (300) | 1,26 (128) | 140 | 84 | 118 | 8 | 400 | 270 | 820+Lx | 670+Lx | 8,3 |
| Л8-523.000-07 | 1 | 45 | 2,96 (300) | 1,26 (128) | 140 | 84 | 118 | 8 | 400 | 270 | 820+Lx | 670+Lx | 8,3 |
| Л8-523.000-08 | 1 | 57 | 2,96 (300) | 2,73 (278) | 70 | 96 | 124 | 10 | 270 | 151 | 700+Lx | 540+Lx | 7,3 |
| Л8-523.000-09 | 1 | 57 | 2,96 (300) | 2,73 (278) | 70 | 96 | 124 | 10 | 270 | 151 | 700+Lx | 540+Lx | 7,3 |
| Л8-523.000-10 | 1 | 57 | 2,96 (300) | 2,73 (278) | 140 | 96 | 124 | 10 | 400 | 284 | 830+Lx | 670+Lx | 10,2 |
| Л8-523.000-11 | 1 | 57 | 2,96 (300) | 2,73 (278) | 140 | 96 | 124 | 10 | 400 | 284 | 830+Lx | 670+Lx | 10,2 |
| Л8-523.000-12 | 2 | 32 | 2,96 (300) | 1,26 (128) | 70 | 300 | 96 | 8 | 270 | 143 | 670+Lx | 540+Lx | 13,4 |
| Л8-523.000-13 | 2 | 32 | 2,96 (300) | 1,26 (128) | 70 | 300 | 96 | 8 | 270 | 143 | 670+Lx | 540+Lx | 13,4 |
| Л8-523.000-14 | 2 | 38 | 2,96 (300) | 1,26 (128) | 70 | 310 | 96 | 8 | 270 | 143 | 670+Lx | 540+Lx | 13,5 |
| Л8-523.000-15 | 2 | 38 | 2,96 (300) | 1,26 (128) | 70 | 310 | 96 | 8 | 270 | 143 | 670+Lx | 540+Lx | 13,5 |
| Л8-523.000-16 | 2 | 45 | 2,96 (300) | 1,26 (128) | 70 | 320 | 96 | 8 | 270 | 143 | 670+Lx | 540+Lx | 13,6 |
| Л8-523.000-17 | 2 | 45 | 2,96 (300) | 1,26 (128) | 70 | 320 | 96 | 8 | 270 | 143 | 670+Lx | 540+Lx | 13,6 |
| Л8-523.000-18 | 2 | 45 | 2,96 (300) | 1,26 (128) | 140 | 320 | 96 | 8 | 400 | 270 | 800+Lx | 670+Lx | 17,6 |
| Л8-523.000-19 | 2 | 45 | 2,96 (300) | 1,26 (128) | 140 | 320 | 96 | 8 | 400 | 270 | 800+Lx | 670+Lx | 17,6 |
| Л8-523.000-20 | 2 | 57 | 2,96 (300) | 2,73 (278) | 70 | 340 | 96 | 10 | 270 | 151 | 670+Lx | 540+Lx | 15,2 |
| Л8-523.000-21 | 2 | 57 | 2,96 (300) | 2,73 (278) | 70 | 340 | 96 | 10 | 270 | 151 | 670+Lx | 540+Lx | 15,2 |
| Л8-523.000-22 | 2 | 57 | 2,96 (300) | 2,73 (278) | 140 | 340 | 96 | 10 | 400 | 284 | 800+Lx | 670+Lx | 20,9 |
| Л8-523.000-23 | 2 | 57 | 2,96 (300) | 2,73 (278) | 140 | 340 | 96 | 10 | 400 | 284 | 800+Lx | 670+Lx | 20,9 |
Подбор и поставка
Уточним наличие и подготовим КП по этой позиции
Поможем с подбором исполнения, проверим доступность на складе и отправим коммерческое предложение по выбранной позиции или аналогам.
Смотрите также
Другие подкатегории раздела
Опоры подвижные трубопроводов
подвижные скользящие опоры трубопроводов. Подбор,консультация,продажа со склада в Москве, доставка по РФ
Накладка Т94 серия 4.903-10 выпуск 1 на тройники усиливающая
Накладка Т94 серия 4.903-10 выпуск 1
Крепления газопроводов УКГ Серия 5.905 - 18.05: Узлы и детали крепления газопроводов
Серия 5.905 - 18.05: Узлы и детали крепления газопроводов
Опоры водопровода в футляре
Опоры водопровода в футляре.Подбор,консультация,продажа со склада в Москве, доставка по РФ
Опоры 313.ТС-008.000 скользящие для трубопроводов в ППУ изоляции
Опоры 313.ТС-008.000 скользящие для трубопроводов в ППУ изоляции.Подбор,консультация,продажа со склада в Москве, доставка по РФ
Опоры ТД-1-487-1997.00.000 скользящие для трубопроводов в ППУ изоляции
Опоры ТД-1-487-1997.00.000 Подбор,консультация,продажа со склада в Москве, доставка по РФ
Серия 5.900-7 выпуск 3. Серия 5.900-7 выпуск 4
Серия 5.900-7 выпуск 3. Серия 5.900-7 выпуск 4.Подбор,консультация,продажа со склада в Москве, доставка по РФ
Опоры ГОСТ 30732-2006 скользящие опоры для стальных трубопроводов
Опоры ГОСТ 30732-2006/Подбор,консультация,продажа со склада в Москве, доставка по РФ