Логотип АстронЭнерго

Опоры А14Б 579.000 серия 5.900-7 выпуск 4

Опоры  А14Б 579.000 серия 5.900-7 выпуск 4

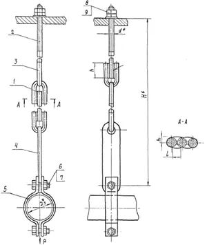
Опоры подвесные А14Б 579.000 серия 5.900-7 выпуск 4 с одной тягой, регулируемой гайкой, для горизонтальных трубопроводов Дн 57 - 273 мм

Подвесные опоры А14Б 579 предназначены для закрепления горизонтальных трубопроводов диаметром от 57 мм до 273 мм. Данные подвески закрепляются на несущей конструкции и регулируются при помощи гайки, накручиваемой на верхнюю тягу.

Условный диаметр прокладываемых трубопроводов Ду 50 – 250 мм.

Опоры подвесные А14Б 579.000 СБ изготавливаются в соответствии с чертежами серии 5.900-7 выпуск 4.

Стандартно  опоры А14Б 579.000 изготавливаются из марки стали Ст.3,20,09Г2С.
Стандартное покрытие — транспортировочный грунт ГФ-021.

1769608102684-350527203-podveska_a14b_579_fill_350x350   1769608113714-952391017-podveska_a14b_579_razmery_fill_300x355

Обозначение

Условный проход Ду, мм

Допускаемая нагрузка Р, кгс

Размеры, мм

Масса, кг

H

А14Б 579.000

50

250

540,0

1,18

А14Б 579.000-01

65

250

550,0

1,18

А14Б 579.000-02

80

250

700,0

1,62

А14Б 579.000-03

100

250

700,0

1,70

А14Б 579.000-04

125

250

730,0

3,33

А14Б 579.000-05

150

400

790,0

3,80

А14Б 579.000-06

200

1500

840,0

4,70

А14Б 579.000-07

250

1500

850,0

5,13

 

Подбор и поставка

Уточним наличие и подготовим КП по этой позиции

Поможем с подбором исполнения, проверим доступность на складе и отправим коммерческое предложение по выбранной позиции или аналогам.

Смотрите также

Другие подкатегории раздела

Опоры подвижные трубопроводов
подвижные скользящие опоры трубопроводов. Подбор,консультация,продажа со склада в Москве, доставка по РФ
Накладка Т94 серия 4.903-10 выпуск 1 на тройники усиливающая
Накладка Т94 серия 4.903-10 выпуск 1
Крепления газопроводов УКГ Серия 5.905 - 18.05: Узлы и детали крепления газопроводов
Серия 5.905 - 18.05: Узлы и детали крепления газопроводов
Опоры водопровода в футляре
Опоры водопровода в футляре.Подбор,консультация,продажа со склада в Москве, доставка по РФ
Опоры 313.ТС-008.000 скользящие для трубопроводов в ППУ изоляции
Опоры 313.ТС-008.000 скользящие для трубопроводов в ППУ изоляции.Подбор,консультация,продажа со склада в Москве, доставка по РФ
Опоры ТД-1-487-1997.00.000 скользящие для трубопроводов в ППУ изоляции
Опоры ТД-1-487-1997.00.000 Подбор,консультация,продажа со склада в Москве, доставка по РФ
Опоры ГОСТ 30732-2006 скользящие опоры для стальных трубопроводов
Опоры ГОСТ 30732-2006/Подбор,консультация,продажа со склада в Москве, доставка по РФ
Хомуты сварные ГОСТ 24138-80
Хомуты сварные по ГОСТ 24138-80. Подбор,консультация,продажа со склада в Москве, доставка по РФ