Логотип АстронЭнерго

Опоры А14Б 553.000 серия 5.900-7 выпуск 3

Опоры А14Б 553.000  серия 5.900-7 выпуск 3

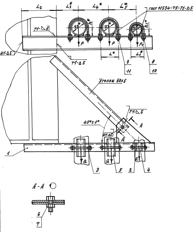
Опоры А14Б 553.000  серия 5.900-7 выпуск 3 подвижные хомутовые трехрядные с креплением к металлической колонне, для труб с разными диаметрами Ду 80 - 200 мм, Ду1 50 - 100 мм.

Опоры А14Б 553.000 применяются для крепления к металлическим колоннам трубопроводов, транспортирующих воду и пар с температурой до +150°С, либо холодоноситель с температурой от -15°С до +15°С с максимальным давлением до 1,6 МПа (16 кгс/см2).

Стандартно подвижные двухрядные опоры А14Б 548.000 изготавливаются из марки стали Ст.3,09Г2С, 20.
Стандартное покрытие — транспортировочный грунт ГФ-021.

1768401991506-950067426-opora_a14b_553_razmery

Обозначение

Условный проход, мм

Допускаемые нагрузки, кгс

Размеры, мм

Масса, кг

Вертикальн.

Горизонтальн.

l₂

l₃

l₄

l₅

Ду

Ду₁

Р

Р₁

Q

Q₁

А14Б 553.000

80

50

72

40

22

12

195,0

130,0

175,0

160,0

7,30

А14Б 553.000-01

100

50

120

40

36

12

226,0

140,0

195,0

170,0

9,11

А14Б 553.000-02

175

50

175

40

52

12

226,0

155,0

225,0

185,0

12,55

А14Б 553.000-03

150

50

266

40

80

12

255,0

170,0

270,0

200,0

16,71

А14Б 553.000-04

200

50

590

40

177

12

300,0

200,0

310,0

230,0

29,35

А14Б 553.000-05

100

80

120

72

36

22

225,0

140,0

195,0

185,0

9,44

А14Б 553.000-06

125

80

175

72

52

22

225,0

155,0

225,0

200,0

13,00

А14Б 553.000-07

150

80

266

72

80

22

255,0

170,0

270,0

215,0

17,16

А14Б 553.000-08

200

80

590

72

177

22

300,0

200,0

310,0

245,0

29,80

А14Б 553.000-09

125

100

175

120

52

36

225,0

155,0

225,0

210,0

14,80

А14Б 553.000-10

150

100

266

120

80

36

255,0

170,0

270,0

225,0

19,34

А14Б 553.000-11

200

100

590

120

177

36

300,0

200,0

310,0

255,0

30,00

 

Подбор и поставка

Уточним наличие и подготовим КП по этой позиции

Поможем с подбором исполнения, проверим доступность на складе и отправим коммерческое предложение по выбранной позиции или аналогам.

Смотрите также

Другие подкатегории раздела

Опоры подвижные трубопроводов
подвижные скользящие опоры трубопроводов. Подбор,консультация,продажа со склада в Москве, доставка по РФ
Накладка Т94 серия 4.903-10 выпуск 1 на тройники усиливающая
Накладка Т94 серия 4.903-10 выпуск 1
Крепления газопроводов УКГ Серия 5.905 - 18.05: Узлы и детали крепления газопроводов
Серия 5.905 - 18.05: Узлы и детали крепления газопроводов
Опоры водопровода в футляре
Опоры водопровода в футляре.Подбор,консультация,продажа со склада в Москве, доставка по РФ
Опоры 313.ТС-008.000 скользящие для трубопроводов в ППУ изоляции
Опоры 313.ТС-008.000 скользящие для трубопроводов в ППУ изоляции.Подбор,консультация,продажа со склада в Москве, доставка по РФ
Опоры ТД-1-487-1997.00.000 скользящие для трубопроводов в ППУ изоляции
Опоры ТД-1-487-1997.00.000 Подбор,консультация,продажа со склада в Москве, доставка по РФ
Опоры ГОСТ 30732-2006 скользящие опоры для стальных трубопроводов
Опоры ГОСТ 30732-2006/Подбор,консультация,продажа со склада в Москве, доставка по РФ
Хомуты сварные ГОСТ 24138-80
Хомуты сварные по ГОСТ 24138-80. Подбор,консультация,продажа со склада в Москве, доставка по РФ