Логотип АстронЭнерго

Опоры А14Б 551.000 серия 5.900-7 выпуск 3

Опоры А14Б 551.000 серия 5.900-7 выпуск 3

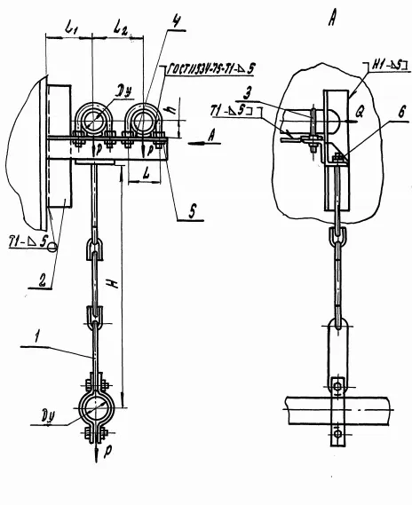
Опоры А14Б 551.000  серия 5.900-7 выпуск 3 подвижные хомутовые трехрядные с креплением к металлической колонне, с подвеской для третьего трубопровода Ду 50 - 80 мм.

Опоры А14Б 551.000 применяются для крепления к металлическим колоннам трубопроводов, транспортирующих воду и пар с температурой до +150°С, либо холодоноситель с температурой от -15°С до +15°С с максимальным давлением до 1,6 МПа (16 кгс/см2).

Стандартно подвижные двухрядные опоры А14Б 548.000 изготавливаются из марки стали Ст.3,09Г2С, 20

Стандартное покрытие — транспортировочный грунт ГФ-021.

1768401561868-967465679-opora_a14b_551_razmery

Обозначение

Условный проход Ду, мм

Допускаемые нагрузки, кгс

Размеры, мм

Масса, кг

Верттикальн.

Горизонтальн.

l₁

l₂

Р

Q

А14Б 551.000

50

40

12

100,0

100,0

4,20

А14Б 551.000-01

65

56

17

110,0

120,0

5,01

А14Б 551.000-02

80

72

22

120,0

140,0

6,42

 

Подбор и поставка

Уточним наличие и подготовим КП по этой позиции

Поможем с подбором исполнения, проверим доступность на складе и отправим коммерческое предложение по выбранной позиции или аналогам.

Смотрите также

Другие подкатегории раздела

Опоры подвижные трубопроводов
подвижные скользящие опоры трубопроводов. Подбор,консультация,продажа со склада в Москве, доставка по РФ
Накладка Т94 серия 4.903-10 выпуск 1 на тройники усиливающая
Накладка Т94 серия 4.903-10 выпуск 1
Крепления газопроводов УКГ Серия 5.905 - 18.05: Узлы и детали крепления газопроводов
Серия 5.905 - 18.05: Узлы и детали крепления газопроводов
Опоры водопровода в футляре
Опоры водопровода в футляре.Подбор,консультация,продажа со склада в Москве, доставка по РФ
Опоры 313.ТС-008.000 скользящие для трубопроводов в ППУ изоляции
Опоры 313.ТС-008.000 скользящие для трубопроводов в ППУ изоляции.Подбор,консультация,продажа со склада в Москве, доставка по РФ
Опоры ТД-1-487-1997.00.000 скользящие для трубопроводов в ППУ изоляции
Опоры ТД-1-487-1997.00.000 Подбор,консультация,продажа со склада в Москве, доставка по РФ
Опоры ГОСТ 30732-2006 скользящие опоры для стальных трубопроводов
Опоры ГОСТ 30732-2006/Подбор,консультация,продажа со склада в Москве, доставка по РФ
Хомуты сварные ГОСТ 24138-80
Хомуты сварные по ГОСТ 24138-80. Подбор,консультация,продажа со склада в Москве, доставка по РФ