Логотип АстронЭнерго

Опоры ТС-628.00.00 серия 5.903-13 выпуск 8-95

Опоры ТС-628.00.00 серия 5.903-13 выпуск 8-95

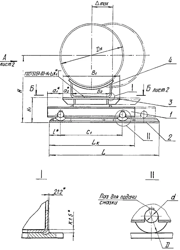
Опоры ТС-628.00.00  серия 5.903-13 выпуск 8-95 катковые двухъярусные Дн 194 - 1420 мм.

Опоры катковые двухъярусные ТС-628.00.00 устанавливается между опорными плитами, а к верхней плите приваривается корпус опоры и предназначены для трубопроводов с рабочим давлением Pу до 4,0 МПа и рабочей температурой tраб до +425 °С. 

Двухъярусные катковые опоры для трубопроводов диаметром от 194 до 1420 мм. Изготавливаются по чертежу ТС-628.00.000СБ серии 5.903-13 вып. 8-95 из углеродистой стали 3. Возможно изготовление из стали 20, 09Г2С.

 Опора ТС-628 катковая двухъярусная состоит из: Плита опорная — 2 шт. Каретка катковая — 1 шт. Корпус — 1 шт.

1768483230997-630427621-opora_ts_628_razmery1768483254584-666947084-opora_ts_628_razmery_2_fill_500x275

Технические параметры:

Наименование

Дн

Для нагрузок кН (mc)

Высота, мм

Длинна, мм

Масса изделия, кг

1

ТС-628.00.000

194

29,4 (3000)

454

800

129

2

ТС-628.00.000 - 01

194

29,4 (3000)

454

1000

171

3

ТС-628.00.000 - 02

219

29,4 (3000)

479

800

129

4

ТС-628.00.000 - 03

219

29,4 (3000)

479

1000

171

5

ТС-628.00.000 - 04

273

29,4 (3000)

533

800

128

6

ТС-628.00.000 - 05

273

29,4 (3000)

533

1000

170

7

ТС-628.00.000 - 06

325

68,7 (7000)

635

1000

268

8

ТС-628.00.000 - 07

325

68,7 (7000)

635

1200

322

9

ТС-628.00.000 - 08

377

68,7 (7000)

687

1000

267

10

ТС-628.00.000 - 09

377

68,7 (7000)

687

1200

321

11

ТС-628.00.000 - 10

426

68,7 (7000)

736

1000

267

12

ТС-628.00.000 - 11

426

68,7 (7000)

736

1200

320

13

ТС-628.00.000 - 12

480

98,1

805

1100

390

14

ТС-628.00.000 - 13

480

98,1

805

1300

458

15

ТС-628.00.000 - 14

530

98,1

855

1100

395

16

ТС-628.00.000 - 15

530

98,1

855

1300

462

17

ТС-628.00.000 - 16

630

98,1

955

1100

394

18

ТС-628.00.000 - 17

630

98,1

955

1300

460

19

ТС-628.00.000 - 18

720

196,2

1130

1400

785

20

ТС-628.00.000 - 19

720

196,2

1130

1600

888

21

ТС-628.00.000 - 20

820

196,2

1230

1400

782

22

ТС-628.00.000 - 21

820

196,2

1230

1600

885

23

ТС-628.00.000 - 22

920

196,2

1330

1400

781

24

ТС-628.00.000 - 23

920

196,2

1330

1600

883

25

ТС-628.00.000 - 24

1020

196,2

1430

1600

1005

26

ТС-628.00.000 - 25

1020

196,2

1430

1800

1130

27

ТС-628.00.000 - 26

1220

196,2

1630

1600

996

28

ТС-628.00.000 - 27

1220

196,2

1630

1800

1121

29

ТС-628.00.000 - 28

1420

196,2

1830

1600

995

30

ТС-628.00.000 - 29

1420

196,2

1830

1800

1119

 

Подбор и поставка

Уточним наличие и подготовим КП по этой позиции

Поможем с подбором исполнения, проверим доступность на складе и отправим коммерческое предложение по выбранной позиции или аналогам.

Смотрите также

Другие подкатегории раздела

Опоры подвижные трубопроводов
подвижные скользящие опоры трубопроводов. Подбор,консультация,продажа со склада в Москве, доставка по РФ
Накладка Т94 серия 4.903-10 выпуск 1 на тройники усиливающая
Накладка Т94 серия 4.903-10 выпуск 1
Крепления газопроводов УКГ Серия 5.905 - 18.05: Узлы и детали крепления газопроводов
Серия 5.905 - 18.05: Узлы и детали крепления газопроводов
Опоры водопровода в футляре
Опоры водопровода в футляре.Подбор,консультация,продажа со склада в Москве, доставка по РФ
Опоры 313.ТС-008.000 скользящие для трубопроводов в ППУ изоляции
Опоры 313.ТС-008.000 скользящие для трубопроводов в ППУ изоляции.Подбор,консультация,продажа со склада в Москве, доставка по РФ
Опоры ТД-1-487-1997.00.000 скользящие для трубопроводов в ППУ изоляции
Опоры ТД-1-487-1997.00.000 Подбор,консультация,продажа со склада в Москве, доставка по РФ
Серия 5.900-7 выпуск 3. Серия 5.900-7 выпуск 4
Серия 5.900-7 выпуск 3. Серия 5.900-7 выпуск 4.Подбор,консультация,продажа со склада в Москве, доставка по РФ
Опоры ГОСТ 30732-2006 скользящие опоры для стальных трубопроводов
Опоры ГОСТ 30732-2006/Подбор,консультация,продажа со склада в Москве, доставка по РФ