Логотип АстронЭнерго

Опоры ТС-627.00.00 серия 5.903-13 выпуск 8-95 с двумя бугелями, удлиненные

Опоры ТС-627.00.00  серия 5.903-13 выпуск 8-95 с двумя бугелями, удлиненные

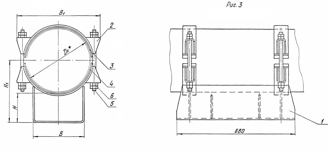
Опоры ТС-627.00.00  серия 5.903-13 выпуск 8-95 бугельного типа скользящие, с двумя бугелями, удлиненные Дн 377 - 1420 мм.

Опоры подвижные бугельные ТС-627.00.00 удлиненные предназначены для трубопроводов с рабочим давлением Pу до 4,0 МПа и рабочей температурой tраб до +425 °С. 

Бугельные опоры для трубопроводов диаметром от 377 до 1420 мм. Изготавливаются по чертежу ТС-627.00.000СБ серии 5.903-13 вып. 8-95 из углеродистой стали 3. Возможно изготовление из стали 20, 09Г2С.

Опора ТС-627 бугельного типа с двумя бугелями удлиненная состоит из:

 Корпус — 1 шт. Бугель -2 шт. Шпилька — 4 шт. Гайка — 16 шт. Прокладка диэлектрическая — 4 шт.

1768482947044-270483849-opora_ts_627_razmery_3

Технические параметры:

Наименование

Дн

Наибольшая вертикальная нагрузка кН (mc)

Высота, мм

Ширина, мм

Масса изделия, кг

49

ТС-627.00.000 - 48

377

70 (7000)

292

485

29

50

ТС-627.00.000 - 49

377

70 (7000)

342

485

33

51

ТС-627.00.000 - 50

377

70 (7000)

392

485

36

52

ТС-627.00.000 - 51

426

70 (7000)

318

540

34

53

ТС-627.00.000 - 52

426

70 (7000)

368

540

37

54

ТС-627.00.000 - 53

426

70 (7000)

418

540

41

55

ТС-627.00.000 - 54

480

125 (12500)

345

600

55

56

ТС-627.00.000 - 55

480

125 (12500)

395

600

62

57

ТС-627.00.000 - 56

480

125 (12500)

445

600

68

58

ТС-627.00.000 - 57

530

125 (12500)

370

650

60

59

ТС-627.00.000 - 58

530

125 (12500)

420

650

67

60

ТС-627.00.000 - 59

530

125 (12500)

470

650

73

61

ТС-627.00.000 - 60

630

125 (12500)

420

745

71

62

ТС-627.00.000 - 61

630

125 (12500)

470

745

77

63

ТС-627.00.000 - 62

630

125 (12500)

520

745

84

64

ТС-627.00.000 - 63

720

220 (22000)

465

860

93

65

ТС-627.00.000 - 64

720

220 (22000)

515

860

102

66

ТС-627.00.000 - 65

720

220 (22000)

565

860

111

67

ТС-627.00.000 - 66

820

220 (22000)

515

960

100

68

ТС-627.00.000 - 67

820

220 (22000)

565

960

110

69

ТС-627.00.000 - 68

820

220 (22000)

615

960

117

70

ТС-627.00.000 - 69

920

360 (36000)

565

1070

131

71

ТС-627.00.000 - 70

920

360 (36000)

615

1070

142

72

ТС-627.00.000 - 71

920

360 (36000)

665

1070

152

73

ТС-627.00.000 - 72

1020

360 (36000)

615

1185

175

74

ТС-627.00.000 - 73

1020

360 (36000)

665

1185

188

75

ТС-627.00.000 - 74

1020

360 (36000)

715

1185

203

76

ТС-627.00.000 - 75

1220

480 (48000)

715

1380

192

77

ТС-627.00.000 - 76

1220

480 (48000)

765

1380

206

78

ТС-627.00.000 - 77

1220

480 (48000)

815

1380

220

79

ТС-627.00.000 - 78

1420

600 (60000)

815

1590

211

80

ТС-627.00.000 - 79

1420

600 (60000)

865

1590

226

81

ТС-627.00.000 - 80

1420

600 (60000)

915

1590

243

 

Подбор и поставка

Уточним наличие и подготовим КП по этой позиции

Поможем с подбором исполнения, проверим доступность на складе и отправим коммерческое предложение по выбранной позиции или аналогам.

Смотрите также

Другие подкатегории раздела

Опоры подвижные трубопроводов
подвижные скользящие опоры трубопроводов. Подбор,консультация,продажа со склада в Москве, доставка по РФ
Накладка Т94 серия 4.903-10 выпуск 1 на тройники усиливающая
Накладка Т94 серия 4.903-10 выпуск 1
Крепления газопроводов УКГ Серия 5.905 - 18.05: Узлы и детали крепления газопроводов
Серия 5.905 - 18.05: Узлы и детали крепления газопроводов
Опоры водопровода в футляре
Опоры водопровода в футляре.Подбор,консультация,продажа со склада в Москве, доставка по РФ
Опоры 313.ТС-008.000 скользящие для трубопроводов в ППУ изоляции
Опоры 313.ТС-008.000 скользящие для трубопроводов в ППУ изоляции.Подбор,консультация,продажа со склада в Москве, доставка по РФ
Опоры ТД-1-487-1997.00.000 скользящие для трубопроводов в ППУ изоляции
Опоры ТД-1-487-1997.00.000 Подбор,консультация,продажа со склада в Москве, доставка по РФ
Серия 5.900-7 выпуск 3. Серия 5.900-7 выпуск 4
Серия 5.900-7 выпуск 3. Серия 5.900-7 выпуск 4.Подбор,консультация,продажа со склада в Москве, доставка по РФ
Опоры ГОСТ 30732-2006 скользящие опоры для стальных трубопроводов
Опоры ГОСТ 30732-2006/Подбор,консультация,продажа со склада в Москве, доставка по РФ