Логотип АстронЭнерго

Опоры ТС-626.00.00 серия 5.903-13 выпуск 8-95 с двумя хомутами, удлиненные

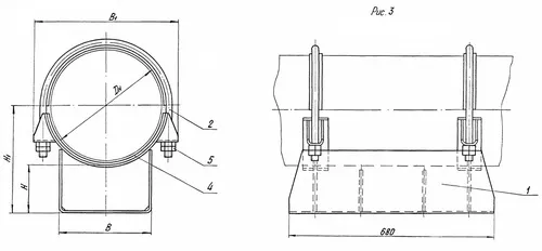
Опоры ТС-626.00.00  серия 5.903-13 выпуск 8-95 с двумя хомутами, удлиненные

Опоры ТС-626.00.00  серия 5.903-13 выпуск 8-95 хомутовые скользящие, с двумя хомутами, удлиненные Дн 194 - 1420 мм.

Серия 5.903-13 Выпуск 8-95 - это стандарт подвижных опор для различного типа трубопроводов. При использовании опор данных стандартов при монтаже, удается достичь минимизирования сдвига трубы. Опоры используются с трубопроводами для сохранения их целостности и защиты от непредвиденных ситуаций. Качественная опора компенсирует сдвиг трубы в результате воздействия посторонней нагрузки. Благодаря использованию комплекса элементов стандарта серии 5.903-13 Выпуск 8-95, можно полностью оборудовать трубопровод и повысить его устойчивость к нагрузкам и термическому воздействия.

Использование опор данных стандартов зарекомендовало себя как качественное решение для монтажа трубопроводов тепловых сетей, так как опоры изготавливаются из прочной стали, защищенной от сильного постороннего воздействия, а также от перепадов температур. При изготовлении опор используются установленные стандарты качества, регламентируется использование определенных типов антикоррозийного покрытия и сварки с использованием различного типа электродов.

Опоры подвижные хомутовые ТС-626.00.00 удлиненные предназначены для трубопроводов с рабочим давлением Pу до 4,0 МПа и рабочей температурой tраб до +425 °С. 

Изготавливаются по чертежу ТС-626.00.000СБ серии 5.903-13 вып. 8-95 из углеродистой стали 3. Возможно изготовление из стали 20, 09Г2С.

Опора ТС-626 хомутовая с двумя хомутами удлиненная состоит из: Корпус — 1 шт. Хомут — 2 шт. Гайка — 8 шт. Прокладка диэлектрическая — 4 шт.

1768481969670-926266078-opora_ts_626_razmery_3_fill_500x232

Технические параметры:

Обозначение Диаметр Dн, мм Вертикальная нагрузка, кН Высота Н, мм Высота Н1, мм Ширина В, мм Ширина В1, мм Длина L, мм Масса, кг
ТС-626.00.000-081 194 22 100 200 180 232 680 15,9
ТС-626.00.000-082 194 22 150 250 180 232 680 18,9
ТС-626.00.000-083 194 22 200 300 180 232 680 22,0
ТС-626.00.000-084 219 22 100 215 180 305 680 15,9
ТС-626.00.000-085 219 22 150 265 180 305 680 20,0
ТС-626.00.000-086 219 22 200 315 180 305 680 23,0
ТС-626.00.000-087 273 22 100 240 180 355 680 17,5
ТС-626.00.000-088 273 22 150 290 180 355 680 20,7
ТС-626.00.000-089 273 22 200 340 180 355 680 23,9
ТС-626.00.000-090 325 70 100 266 280 400 680 26,5
ТС-626.00.000-091 325 70 150 316 280 400 680 31,3
ТС-626.00.000-092 325 70 200 366 280 400 680 34,2
ТС-626.00.000-093 377 70 100 292 280 475 680 27,5
ТС-626.00.000-094 377 70 150 342 280 475 680 31,4
ТС-626.00.000-095 377 70 200 392 280 475 680 35,2
ТС-626.00.000-096 426 70 100 318 280 520 680 29,7
ТС-626.00.000-097 426 70 150 368 280 520 680 33,6
ТС-626.00.000-098 426 70 200 418 280 520 680 37,4
TC-626.00.000-099 480 125 100 345 380 565 680 49,2
ТС-626.00.000-100 480 125 150 395 380 565 680 55,2
ТС-626.00.000-101 480 125 200 445 380 565 680 62,4
ТС-626.00.000-102 530 125 100 370 380 620 680 49,9
ТС-626.00.000-103 530 125 150 420 380 620 680 56,7
ТС-626.00.000-104 530 125 200 470 380 620 680 63,2
ТС-626.00.000-105 630 125 100 420 380 735 680 57,4
ТС-626.00.000-106 630 125 150 470 380 735 680 64,0
ТС-626.00.000-107 630 125 200 520 380 735 680 70,6
ТС-626.00.000-108 720 22 100 465 500 855 680 79,5
ТС-626.00.000-109 720 22 150 515 500 855 680 88,5
ТС-626.00.000-110 720 22 200 565 500 855 680 97,3
ТС-626.00.000-111 820 22 100 515 500 925 680 87,2
ТС-626.00.000-112 820 22 150 565 500 925 680 87,9
ТС-626.00.000-113 820 22 200 515 500 925 680 104,7
ТС-626.00.000-114 920 360 100 565 500 1035 680 113,9
ТС-626.00.000-115 920 360 150 615 500 1035 680 123,8
ТС-626.00.000-116 920 360 200 665 500 1035 680 134,5
ТС-626.00.000-117 1020 360 100 615 700 1145 680 155,1
ТС-626.00.000-118 1020 360 150 665 700 1145 680 168,8
TC-626.00.000-119 1020 360 200 715 700 1145 680 187,8
ТС-626.00.000-120 1220 480 100 715 700 1360 680 179,2
ТС-626.00.000-121 1220 480 150 765 700 1360 680 193,5
ТС-626.00.000-122 1220 480 200 815 700 1360 680 207,2
ТС-626.00.000-123 1420 600 100 815 700 1575 680 193,9
ТС-626.00.000-124 1420 600 150 865 700 1575 680 209,1
ТС-626.00.000-125 1420 600 200 915 700 1575 680 225,8

 

 

 

Подбор и поставка

Уточним наличие и подготовим КП по этой позиции

Поможем с подбором исполнения, проверим доступность на складе и отправим коммерческое предложение по выбранной позиции или аналогам.

Смотрите также

Другие подкатегории раздела

Опоры подвижные трубопроводов
подвижные скользящие опоры трубопроводов. Подбор,консультация,продажа со склада в Москве, доставка по РФ
Накладка Т94 серия 4.903-10 выпуск 1 на тройники усиливающая
Накладка Т94 серия 4.903-10 выпуск 1
Крепления газопроводов УКГ Серия 5.905 - 18.05: Узлы и детали крепления газопроводов
Серия 5.905 - 18.05: Узлы и детали крепления газопроводов
Опоры водопровода в футляре
Опоры водопровода в футляре.Подбор,консультация,продажа со склада в Москве, доставка по РФ
Опоры 313.ТС-008.000 скользящие для трубопроводов в ППУ изоляции
Опоры 313.ТС-008.000 скользящие для трубопроводов в ППУ изоляции.Подбор,консультация,продажа со склада в Москве, доставка по РФ
Опоры ТД-1-487-1997.00.000 скользящие для трубопроводов в ППУ изоляции
Опоры ТД-1-487-1997.00.000 Подбор,консультация,продажа со склада в Москве, доставка по РФ
Серия 5.900-7 выпуск 3. Серия 5.900-7 выпуск 4
Серия 5.900-7 выпуск 3. Серия 5.900-7 выпуск 4.Подбор,консультация,продажа со склада в Москве, доставка по РФ
Опоры ГОСТ 30732-2006 скользящие опоры для стальных трубопроводов
Опоры ГОСТ 30732-2006/Подбор,консультация,продажа со склада в Москве, доставка по РФ