Логотип АстронЭнерго

Опоры А14Б 585.000  серия 5.900-7 выпуск 4

Опоры  А14Б 585.000  серия 5.900-7 выпуск 4

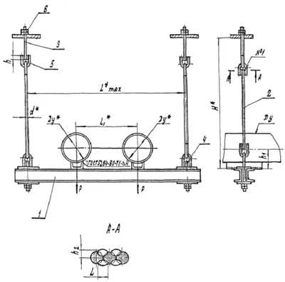
Опоры подвесные А14Б 585.000  серия 5.900-7 выпуск 4 двухрядные, с опорной балкой, с двумя тягами, регулируемыми гайками, для горизонтальных трубопроводов Дн 108 - 273 мм

Подвесные двухрядные опоры А14Б 585 с опорной балкой, предназначены для закрепления двух горизонтальных трубопроводов диаметром от 108 мм до 273 мм. Данные подвески закрепляются на несущей конструкции и регулируются при помощи гаек, накручиваемых на верхнюю тягу.

Опоры подвесные двухрядные А14Б 585.000 СБ изготавливаются в соответствии с чертежами серии 5.900-7 выпуск 4.

Стандартно  опоры А14Б 585.000 изготавливаются из марок стали сталь 3, 20, 09Г2С. Стандартное покрытие – транспортировочный грунт ГФ-021.

1769673226386-746693886-podveska_a14b_585_fill_350x350   1769673251439-494408100-podveska_a14b_585_razmery_fill_400x397

Обозначение

Условный проход Ду, мм

Допускаемая нагрузка Р, кгс

Размеры, мм

Масса, кг

H

Lᵐᵃˣ

L₁

А14Б 585.000

100

118

550,0

690,0

250,0

11,30

А14Б 585.000-01

125

175

560,0

780,0

280,0

14,50

А14Б 585.000-02

150

266

560,0

850,0

300,0

17,90

А14Б 585.000-03

200

590

570,0

1000,0

350,0

29,20

А14Б 585.000-04

250

840

570,0

1100,0

400,0

31,50

 

Подбор и поставка

Уточним наличие и подготовим КП по этой позиции

Поможем с подбором исполнения, проверим доступность на складе и отправим коммерческое предложение по выбранной позиции или аналогам.

Смотрите также

Другие подкатегории раздела

Опоры подвижные трубопроводов
подвижные скользящие опоры трубопроводов. Подбор,консультация,продажа со склада в Москве, доставка по РФ
Накладка Т94 серия 4.903-10 выпуск 1 на тройники усиливающая
Накладка Т94 серия 4.903-10 выпуск 1
Крепления газопроводов УКГ Серия 5.905 - 18.05: Узлы и детали крепления газопроводов
Серия 5.905 - 18.05: Узлы и детали крепления газопроводов
Опоры водопровода в футляре
Опоры водопровода в футляре.Подбор,консультация,продажа со склада в Москве, доставка по РФ
Опоры 313.ТС-008.000 скользящие для трубопроводов в ППУ изоляции
Опоры 313.ТС-008.000 скользящие для трубопроводов в ППУ изоляции.Подбор,консультация,продажа со склада в Москве, доставка по РФ
Опоры ТД-1-487-1997.00.000 скользящие для трубопроводов в ППУ изоляции
Опоры ТД-1-487-1997.00.000 Подбор,консультация,продажа со склада в Москве, доставка по РФ
Опоры ГОСТ 30732-2006 скользящие опоры для стальных трубопроводов
Опоры ГОСТ 30732-2006/Подбор,консультация,продажа со склада в Москве, доставка по РФ
Хомуты сварные ГОСТ 24138-80
Хомуты сварные по ГОСТ 24138-80. Подбор,консультация,продажа со склада в Москве, доставка по РФ