Логотип АстронЭнерго

Опоры А14Б 582.000  серия 5.900-7 выпуск 4

Опоры  А14Б 582.000  серия 5.900-7 выпуск 4

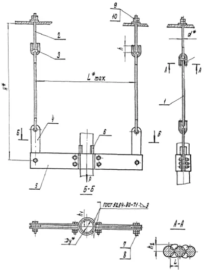
Опоры подвесные А14Б 582.000  серия 5.900-7 выпуск 4 с двумя тягами, регулируемыми гайками, для вертикальных трубопроводов Дн 57 - 273 мм

Подвесные опоры А14Б 582 предназначены для закрепления вертикальных трубопроводов диаметром от 57 мм до 273 мм. Данные подвески закрепляются на несущей конструкции и регулируются при помощи гаек, накручиваемых на верхние тяги.

Опоры подвесные А14Б 582.000 СБ изготавливаются в соответствии с чертежами серии 5.900-7 выпуск 4.

Стандартно  опоры А14Б 582.000 изготавливаются из марок стали сталь 3, 20, 09Г2С.Стандартное покрытие – транспортировочный грунт ГФ-021.

1769665972069-193496832-podveska_a14b_582_fill_300x300__2_              1769665985785-759777170-podveska_a14b_582_razmery_fill_400x528

Обозначение

Условный проход Ду, мм

Допускаемая нагрузка Р, кгс

Размеры, мм

Масса, кг

L

H

А14Б 582.000

50

51

400,0

550,0

3,32

А14Б 582.000-01

65

75

440,0

550,0

4,60

А14Б 582.000-02

80

107

550,0

550,0

6,31

А14Б 582.000-03

100

157

560,0

550,0

8,71

А14Б 582.000-04

125

220

600,0

630,0

13,20

А14Б 582.000-05

150

325

630,0

630,0

13,10

А14Б 582.000-06

200

857

750,0

680,0

24,54

А14Б 582.000-07

250

1153

860,0

680,0

30,60

 

Подбор и поставка

Уточним наличие и подготовим КП по этой позиции

Поможем с подбором исполнения, проверим доступность на складе и отправим коммерческое предложение по выбранной позиции или аналогам.

Смотрите также

Другие подкатегории раздела

Опоры подвижные трубопроводов
подвижные скользящие опоры трубопроводов. Подбор,консультация,продажа со склада в Москве, доставка по РФ
Накладка Т94 серия 4.903-10 выпуск 1 на тройники усиливающая
Накладка Т94 серия 4.903-10 выпуск 1
Крепления газопроводов УКГ Серия 5.905 - 18.05: Узлы и детали крепления газопроводов
Серия 5.905 - 18.05: Узлы и детали крепления газопроводов
Опоры водопровода в футляре
Опоры водопровода в футляре.Подбор,консультация,продажа со склада в Москве, доставка по РФ
Опоры 313.ТС-008.000 скользящие для трубопроводов в ППУ изоляции
Опоры 313.ТС-008.000 скользящие для трубопроводов в ППУ изоляции.Подбор,консультация,продажа со склада в Москве, доставка по РФ
Опоры ТД-1-487-1997.00.000 скользящие для трубопроводов в ППУ изоляции
Опоры ТД-1-487-1997.00.000 Подбор,консультация,продажа со склада в Москве, доставка по РФ
Опоры ГОСТ 30732-2006 скользящие опоры для стальных трубопроводов
Опоры ГОСТ 30732-2006/Подбор,консультация,продажа со склада в Москве, доставка по РФ
Хомуты сварные ГОСТ 24138-80
Хомуты сварные по ГОСТ 24138-80. Подбор,консультация,продажа со склада в Москве, доставка по РФ