Логотип АстронЭнерго

Опоры А14Б 556.000 серия 5.900-7 выпуск 3

Опоры А14Б 556.000  серия 5.900-7 выпуск 3

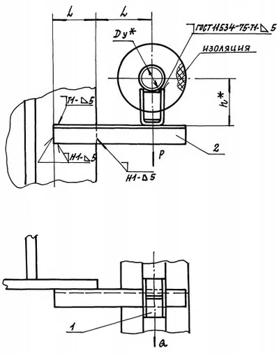
Опоры А14Б 556.000  серия 5.900-7 выпуск 3 подвижные корпусные приварные с креплением к металлической колонне Ду 50 - 125 мм.

Опоры А14Б 556.000 применяются для крепления к металлическим колоннам трубопроводов, транспортирующих воду и пар с температурой до +150°С, либо холодоноситель с температурой от -15°С до +15°С с максимальным давлением до 1,6 МПа (16 кгс/см2).
Стандартно подвижные двухрядные опоры А14Б 548.000 изготавливаются из марки стали Ст.3,20,09Г2С.
Стандартное покрытие — транспортировочный грунт ГФ-021.

1768454609865-313311274-opora_a14b_556_razmery_fill_400x510

Обозначение

Условный проход Ду, мм

Допускаемые нагрузки, кгс

Размеры, мм

Масса, кг

Вертикальн.

Горизонтальн.

L

l

Р

Q

А14Б 556.000

50

65

19

130,0

150,0

2,06

А14Б 556.000-01

50

65

19

130,0

150,0

2,50

А14Б 556.000-02

65

95

28

140,0

160,0

2,32

А14Б 556.000-03

65

95

28

140,0

160,0

2,76

А14Б 556.000-04

80

130

39

145,0

185,0

3,24

А14Б 556.000-05

80

130

39

145,0

185,0

3,74

А14Б 556.000-06

100

190

57

165,0

195,0

3,84

А14Б 556.000-07

100

190

57

165,0

195,0

4,34

А14Б 556.000-08

125

265

79

180,0

210,0

4,95

А14Б 556.000-09

125

265

79

180,0

210,0

5,63

 

Подбор и поставка

Уточним наличие и подготовим КП по этой позиции

Поможем с подбором исполнения, проверим доступность на складе и отправим коммерческое предложение по выбранной позиции или аналогам.

Смотрите также

Другие подкатегории раздела

Опоры подвижные трубопроводов
подвижные скользящие опоры трубопроводов. Подбор,консультация,продажа со склада в Москве, доставка по РФ
Накладка Т94 серия 4.903-10 выпуск 1 на тройники усиливающая
Накладка Т94 серия 4.903-10 выпуск 1
Крепления газопроводов УКГ Серия 5.905 - 18.05: Узлы и детали крепления газопроводов
Серия 5.905 - 18.05: Узлы и детали крепления газопроводов
Опоры водопровода в футляре
Опоры водопровода в футляре.Подбор,консультация,продажа со склада в Москве, доставка по РФ
Опоры 313.ТС-008.000 скользящие для трубопроводов в ППУ изоляции
Опоры 313.ТС-008.000 скользящие для трубопроводов в ППУ изоляции.Подбор,консультация,продажа со склада в Москве, доставка по РФ
Опоры ТД-1-487-1997.00.000 скользящие для трубопроводов в ППУ изоляции
Опоры ТД-1-487-1997.00.000 Подбор,консультация,продажа со склада в Москве, доставка по РФ
Опоры ГОСТ 30732-2006 скользящие опоры для стальных трубопроводов
Опоры ГОСТ 30732-2006/Подбор,консультация,продажа со склада в Москве, доставка по РФ
Хомуты сварные ГОСТ 24138-80
Хомуты сварные по ГОСТ 24138-80. Подбор,консультация,продажа со склада в Москве, доставка по РФ