Логотип АстронЭнерго

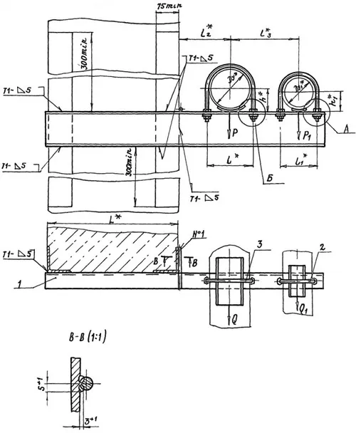
Опоры А14Б 512.000 серия 5.900-7 выпуск 1

Опоры А14Б 512.000 серия 5.900-7 выпуск 1

Опоры А14Б 512.000 серия 5.900-7 выпуск 1 подвижные хомутовые двухрядные с креплением к железнобетонной колонне, для труб с разными диаметрами Ду 125 - 200 мм, Ду1 100 - 150 мм

Опоры А14Б 512.000 применяются для крепления двух неизолированных трубопроводов разных диаметров, транспортирующих воду и пар с температурой до +150°С, либо холодоноситель с температурой от -15°С до +15°С с максимальным давлением до 1,6 МПа (16 кгс/см2).

Стандартно  опоры А14Б 512.000 изготавливаются из марки стали Ст.3,20,09Г2С.
Стандартное покрытие — транспортировочный грунт ГФ-021.

Подвижные опоры А14Б 512.000 СБ изготавливаются в соответствии с чертежами серии 5.900-7 выпуск 1

1771501241149-101564785-opora-a14b-512-razmery-fill-500x608

Обозначение

Рис.

Условный проход

Допускаемые нагрузки, кгс

Размеры, мм

Масса, кг

Вертикальные

Горизонтальные

L

l₂

l₃

Ду

Ду₁

Р

Р₁

Q

Q₁

А14Б 512.000

1

125

100

175

120

52

36

400,0

155,0

210,0

9,24

А14Б 512.000-01

1

150

100

266

120

80

36

400,0

170,0

225,0

11,23

А14Б 512.000-02

1

200

100

590

120

177

36

400,0

200,0

255,0

14,52

А14Б 512.000-03

1

250

100

840

120

252

36

400,0

240,0

290,0

20,13

А14Б 512.000-04

2

125

125

175

175

52

52

400,0

155,0

225,0

10,10

А14Б 512.000-05

1

150

125

266

175

80

52

400,0

170,0

240,0

12,13

А14Б 512.000-06

1

200

125

590

175

177

52

400,0

200,0

270,0

17,55

А14Б 512.000-07

2

150

150

266

266

80

80

400,0

170,0

270,0

14,62

А14Б 512.000-08

1

200

150

590

266

177

80

400,0

200,0

280,0

19,11

А14Б 512.000-09

1

125

100

175

120

52

36

600,0

155,0

210,0

10,95

А14Б 512.000-10

1

150

100

266

120

80

36

600,0

170,0

225,0

13,30

А14Б 512.000-11

1

200

100

590

120

177

36

600,0

200,0

255,0

17,00

А14Б 512.000-12

1

250

100

840

120

252

36

600,0

240,0

290,0

23,21

А14Б 512.000-13

2

125

125

175

175

52

52

600,0

155,0

225,0

11,81

А14Б 512.000-14

1

150

125

266

175

80

52

600,0

170,0

240,0

14,21

А14Б 512.000-15

1

200

125

590

175

177

52

600,0

200,0

305,0

20,15

А14Б 512.000-16

2

150

150

266

266

80

80

600,0

170,0

270,0

17,09

А14Б 512.000-17

1

200

150

590

266

177

80

600,0

200,0

310,0

22,66

 

 

Подбор и поставка

Уточним наличие и подготовим КП по этой позиции

Поможем с подбором исполнения, проверим доступность на складе и отправим коммерческое предложение по выбранной позиции или аналогам.

Смотрите также

Другие подкатегории раздела

Опоры подвижные трубопроводов
подвижные скользящие опоры трубопроводов. Подбор,консультация,продажа со склада в Москве, доставка по РФ
Накладка Т94 серия 4.903-10 выпуск 1 на тройники усиливающая
Накладка Т94 серия 4.903-10 выпуск 1
Крепления газопроводов УКГ Серия 5.905 - 18.05: Узлы и детали крепления газопроводов
Серия 5.905 - 18.05: Узлы и детали крепления газопроводов
Опоры водопровода в футляре
Опоры водопровода в футляре.Подбор,консультация,продажа со склада в Москве, доставка по РФ
Опоры 313.ТС-008.000 скользящие для трубопроводов в ППУ изоляции
Опоры 313.ТС-008.000 скользящие для трубопроводов в ППУ изоляции.Подбор,консультация,продажа со склада в Москве, доставка по РФ
Опоры ТД-1-487-1997.00.000 скользящие для трубопроводов в ППУ изоляции
Опоры ТД-1-487-1997.00.000 Подбор,консультация,продажа со склада в Москве, доставка по РФ
Серия 5.900-7 выпуск 3. Серия 5.900-7 выпуск 4
Серия 5.900-7 выпуск 3. Серия 5.900-7 выпуск 4.Подбор,консультация,продажа со склада в Москве, доставка по РФ
Опоры ГОСТ 30732-2006 скользящие опоры для стальных трубопроводов
Опоры ГОСТ 30732-2006/Подбор,консультация,продажа со склада в Москве, доставка по РФ