Логотип АстронЭнерго

Опоры ТС-626.00.00 серия 5.903-13 выпуск 8-95 с двумя хомутами, удлиненные

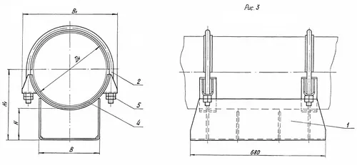
Опоры ТС-626.00.00  серия 5.903-13 выпуск 8-95 с двумя хомутами, удлиненные

Опоры ТС-626.00.00  серия 5.903-13 выпуск 8-95 хомутовые скользящие, с двумя хомутами, удлиненные Дн 194 - 1420 мм.

Опоры подвижные хомутовые ТС-626.00.00 удлиненные предназначены для трубопроводов с рабочим давлением Pу до 4,0 МПа и рабочей температурой tраб до +425 °С. 

Изготавливаются по чертежу ТС-626.00.000СБ серии 5.903-13 вып. 8-95 из углеродистой стали 3. Возможно изготовление из стали 20, 09Г2С.

Опора ТС-626 хомутовая с двумя хомутами удлиненная состоит из: Корпус — 1 шт. Хомут — 2 шт. Гайка — 8 шт. Прокладка диэлектрическая — 4 шт.

1768481969670-926266078-opora_ts_626_razmery_3_fill_500x232

Технические параметры:

Наименование

Дн

Наибольшая вертикальная нагрузка кН (mc)

Высота, мм

Ширина, мм

Масса изделия, кг

82

ТС-626.00.000 - 081

194

22 (2200)

200

232

15,9

83

ТС-626.00.000 - 082

194

22 (2200)

250

232

18,9

84

ТС-626.00.000 - 083

194

22 (2200)

300

232

22,0

85

ТС-626.00.000 - 084

219

22 (2200)

215

305

15,9

86

ТС-626.00.000 - 085

219

22 (2200)

265

305

20,0

87

ТС-626.00.000 - 086

219

22 (2200)

315

305

23,0

88

ТС-626.00.000 - 087

273

22 (2200)

240

355

17,5

89

ТС-626.00.000 - 088

273

22 (2200)

290

355

20,7

90

ТС-626.00.000 - 089

273

22 (2200)

340

355

23,9

91

ТС-626.00.000 - 090

325

70 (7000)

266

400

26,5

92

ТС-626.00.000 - 091

325

70 (7000)

316

400

31,3

93

ТС-626.00.000 - 092

325

70 (7000)

366

400

34,2

94

ТС-626.00.000 - 093

377

70 (7000)

292

475

27,5

95

ТС-626.00.000 - 094

377

70 (7000)

342

475

31,4

96

ТС-626.00.000 - 095

377

70 (7000)

392

475

35,2

97

ТС-626.00.000 - 096

426

70 (7000)

318

520

29,7

98

ТС-626.00.000 - 097

426

70 (7000)

368

520

33,6

99

ТС-626.00.000 - 098

426

70 (7000)

418

520

37,4

100

ТС-626.00.000 - 099

480

125 (12500)

345

565

49,2

101

ТС-626.00.000 - 100

480

125 (12500)

395

565

55,2

102

ТС-626.00.000 - 101

480

125 (12500)

445

565

62,4

103

ТС-626.00.000 - 102

530

125 (12500)

370

620

49,9

104

ТС-626.00.000 - 103

530

125 (12500)

420

620

56,7

105

ТС-626.00.000 - 104

530

125 (12500)

470

620

63,2

106

ТС-626.00.000 - 105

630

125 (12500)

420

735

57,4

107

ТС-626.00.000 - 106

630

125 (12500)

470

735

64,0

108

ТС-626.00.000 - 107

630

125 (12500)

520

735

70,6

109

ТС-626.00.000 - 108

720

22 (2200)

465

855

79,5

110

ТС-626.00.000 - 109

720

22 (2200)

515

855

88,5

111

ТС-626.00.000 - 110

720

22 (2200)

565

855

97,3

112

ТС-626.00.000 - 111

820

22 (2200)

515

925

87,2

113

ТС-626.00.000 - 112

820

22 (2200)

565

925

87,9

114

ТС-626.00.000 - 113

820

22 (2200)

515

925

104,7

115

ТС-626.00.000 - 114

920

360 (36000)

565

1035

113,9

116

ТС-626.00.000 - 115

920

360 (36000)

615

1035

123,8

117

ТС-626.00.000 - 116

920

360 (36000)

665

1035

134,5

118

ТС-626.00.000 - 117

1020

360 (36000)

615

1145

155,1

119

ТС-626.00.000 - 118

1020

360 (36000)

665

1145

168.8

120

ТС-626.00.000 - 119

1020

360 (36000)

715

1145

187,8

121

ТС-626.00.000 - 120

1220

480 (48000)

715

1360

179,2

122

ТС-626.00.000 - 121

1220

480 (48000)

765

1360

193,5

123

ТС-626.00.000 - 122

1220

480 (48000)

815

1360

207,2

124

ТС-626.00.000 - 123

1420

600 (60000)

815

1575

193,9

125

ТС-626.00.000 - 124

1420

600 (60000)

865

1575

209,1

126

ТС-626.00.000 - 125

1420

600 (60000)

915

1575

225,8

 

Подбор и поставка

Уточним наличие и подготовим КП по этой позиции

Поможем с подбором исполнения, проверим доступность на складе и отправим коммерческое предложение по выбранной позиции или аналогам.

Смотрите также

Другие подкатегории раздела

Опоры подвижные трубопроводов
подвижные скользящие опоры трубопроводов. Подбор,консультация,продажа со склада в Москве, доставка по РФ
Накладка Т94 серия 4.903-10 выпуск 1 на тройники усиливающая
Накладка Т94 серия 4.903-10 выпуск 1
Крепления газопроводов УКГ Серия 5.905 - 18.05: Узлы и детали крепления газопроводов
Серия 5.905 - 18.05: Узлы и детали крепления газопроводов
Опоры водопровода в футляре
Опоры водопровода в футляре.Подбор,консультация,продажа со склада в Москве, доставка по РФ
Опоры 313.ТС-008.000 скользящие для трубопроводов в ППУ изоляции
Опоры 313.ТС-008.000 скользящие для трубопроводов в ППУ изоляции.Подбор,консультация,продажа со склада в Москве, доставка по РФ
Опоры ТД-1-487-1997.00.000 скользящие для трубопроводов в ППУ изоляции
Опоры ТД-1-487-1997.00.000 Подбор,консультация,продажа со склада в Москве, доставка по РФ
Серия 5.900-7 выпуск 3. Серия 5.900-7 выпуск 4
Серия 5.900-7 выпуск 3. Серия 5.900-7 выпуск 4.Подбор,консультация,продажа со склада в Москве, доставка по РФ
Опоры ГОСТ 30732-2006 скользящие опоры для стальных трубопроводов
Опоры ГОСТ 30732-2006/Подбор,консультация,продажа со склада в Москве, доставка по РФ