Логотип АстронЭнерго

Опоры А14Б 534.000  серия 5.900-7 выпуск 2

Опоры А14Б 534.000  серия 5.900-7 выпуск 2

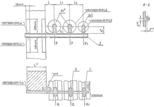
Опоры А14Б 534.000  серия 5.900-7 выпуск 2 подвижные корпусные приварные трехрядные с креплением к железнобетонной колонне, для труб с разными диаметрами Ду 80 - 150 мм, Ду1 50 - 100 мм

Опоры А14Б 534.000 применяются для крепления изолированных трубопроводов, транспортирующих воду и пар с температурой до +150°С, либо холодоноситель с температурой от -15°С до +15°С с максимальным давлением до 1,6 МПа (16 кгс/см2).
Стандартно  опоры А14Б 534.000 изготавливаются из марки стали Ст.3,20,09Г2С.
Стандартное покрытие — транспортировочный грунт ГФ-021.
Подвижные опоры А14Б 534.000 СБ изготавливаются в соответствии с чертежами серии 5.900-7 выпуск 1
1771734662090-439831140-opora-a14b-534-razmery-fill-500x347

Обозначение

Условный проход, мм

Допускаемые нагрузки, кгс

Размеры, мм

Масса, кг

Горизонтал.

Вертикальн.

Ду

Ду₁

Р

Р₁

Q

Q₁

L

l

l₁

l₂

А14Б 534.000

80

50

107

51

32,1

15,3

400,0

185,0

300,0

265,0

16,50

А14Б 534.000-01

80

50

107

51

32,1

15,3

400,0

185,0

300,0

265,0

17,90

А14Б 534.000-02

100

50

157

51

47,1

15,3

400,0

195,0

320,0

275,0

20,30

А14Б 534.000-03

100

50

157

51

47,1

15,3

400,0

195,0

320,0

275,0

21,80

А14Б 534.000-04

125

50

220

51

66

15,3

400,0

210,0

350,0

290,0

22,20

А14Б 534.000-05

125

50

220

51

66

15,3

400,0

210,0

350,0

290,0

23,70

А14Б 534.000-06

150

50

325

51

97,5

15,3

400,0

220,0

370,0

300,0

29,30

А14Б 534.000-07

150

50

325

51

97,5

15,3

400,0

220,0

370,0

300,0

31,10

А14Б 534.000-08

100

80

157

107

47,1

32,1

400,0

195,0

320,0

310,0

21,90

А14Б 534.000-09

100

80

157

107

47,1

32,1

400,0

195,0

320,0

310,0

23,40

А14Б 534.000-10

125

80

220

107

66

32,1

400,0

210,0

350,0

325,0

25,40

А14Б 534.000-11

125

80

220

107

66

32,1

400,0

210,0

350,0

325,0

26,90

А14Б 534.000-12

150

80

325

107

97,5

32,1

400,0

220,0

370,0

335,0

33,20

А14Б 534.000-13

150

80

325

107

97,5

32,1

400,0

220,0

370,0

335,0

35,10

А14Б 534.000-14

125

100

220

157

66

47,1

400,0

210,0

350,0

335,0

29,00

А14Б 534.000-15

125

100

220

157

66

47,1

400,0

210,0

350,0

335,0

30,50

А14Б 534.000-16

150

100

325

157

97,5

47,1

400,0

220,0

370,0

345,0

34,40

А14Б 534.000-17

150

100

325

157

97,5

47,1

400,0

220,0

370,0

345,0

37,60

А14Б 534.000-18

80

50

107

51

32,1

15,3

600,0

185,0

300,0

265,0

18,60

А14Б 534.000-19

80

50

107

51

32,1

15,3

600,0

185,0

300,0

265,0

20,00

А14Б 534.000-20

100

50

157

51

47,1

15,3

600,0

195,0

320,0

275,0

22,70

А14Б 534.000-21

100

50

157

51

47,1

15,3

600,0

195,0

320,0

275,0

24,20

А14Б 534.000-22

125

50

220

51

66

15,3

600,0

210,0

350,0

290,0

24,80

А14Б 534.000-23

125

50

220

51

66

15,3

600,0

210,0

350,0

290,0

26,30

А14Б 534.000-24

150

50

325

51

97,5

15,3

600,0

220,0

370,0

300,0

32,70

А14Б 534.000-25

150

50

325

51

97,5

15,3

600,0

220,0

370,0

300,0

34,50

А14Б 534.000-26

100

80

157

107

47,1

32,1

600,0

195,0

320,0

310,0

24,60

А14Б 534.000-27

100

80

157

107

47,1

32,1

600,0

195,0

320,0

310,0

26,10

А14Б 534.000-28

125

80

220

107

66

32,1

600,0

210,0

350,0

325,0

28,40

А14Б 534.000-29

125

80

220

107

66

32,1

600,0

210,0

350,0

325,0

29,90

А14Б 534.000-30

150

80

325

107

97,5

32,1

600,0

220,0

370,0

335,0

37,20

А14Б 534.000-31

150

80

325

107

97,5

32,1

600,0

220,0

370,0

335,0

39,10

А14Б 534.000-32

125

100

220

157

66

47,1

600,0

210,0

350,0

335,0

32,50

А14Б 534.000-33

125

100

220

157

66

47,1

600,0

210,0

350,0

335,0

34,00

А14Б 534.000-34

150

100

325

157

97,5

47,1

600,0

220,0

370,0

345,0

40,20

А14Б 534.000-35

150

100

325

157

97,5

47,1

600,0

220,0

370,0

345,0

42,00

 

Подбор и поставка

Уточним наличие и подготовим КП по этой позиции

Поможем с подбором исполнения, проверим доступность на складе и отправим коммерческое предложение по выбранной позиции или аналогам.

Смотрите также

Другие подкатегории раздела

Опоры подвижные трубопроводов
подвижные скользящие опоры трубопроводов. Подбор,консультация,продажа со склада в Москве, доставка по РФ
Накладка Т94 серия 4.903-10 выпуск 1 на тройники усиливающая
Накладка Т94 серия 4.903-10 выпуск 1
Крепления газопроводов УКГ Серия 5.905 - 18.05: Узлы и детали крепления газопроводов
Серия 5.905 - 18.05: Узлы и детали крепления газопроводов
Опоры водопровода в футляре
Опоры водопровода в футляре.Подбор,консультация,продажа со склада в Москве, доставка по РФ
Опоры 313.ТС-008.000 скользящие для трубопроводов в ППУ изоляции
Опоры 313.ТС-008.000 скользящие для трубопроводов в ППУ изоляции.Подбор,консультация,продажа со склада в Москве, доставка по РФ
Опоры ТД-1-487-1997.00.000 скользящие для трубопроводов в ППУ изоляции
Опоры ТД-1-487-1997.00.000 Подбор,консультация,продажа со склада в Москве, доставка по РФ
Серия 5.900-7 выпуск 3. Серия 5.900-7 выпуск 4
Серия 5.900-7 выпуск 3. Серия 5.900-7 выпуск 4.Подбор,консультация,продажа со склада в Москве, доставка по РФ
Опоры ГОСТ 30732-2006 скользящие опоры для стальных трубопроводов
Опоры ГОСТ 30732-2006/Подбор,консультация,продажа со склада в Москве, доставка по РФ