Логотип АстронЭнерго

Опоры А14Б 530.000  серия 5.900-7 выпуск 2

Опоры А14Б 530.000  серия 5.900-7 выпуск 2

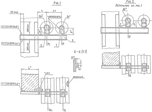
Опоры А14Б 530.000  серия 5.900-7 выпуск 2 подвижные корпусные приварные двухрядные с креплением к железнобетонной колонне, с подвеской для второго трубопровода Ду 50 - 100 мм

Опоры А14Б 530.000 применяются для крепления изолированных трубопроводов, транспортирующих воду и пар с температурой до +150°С, либо холодоноситель с температурой от -15°С до +15°С с максимальным давлением до 1,6 МПа (16 кгс/см2).

Стандартно  опоры А14Б 530.000 изготавливаются из марки стали Ст.3,20,09Г2С.
Стандартное покрытие — транспортировочный грунт ГФ-021.
Подвижные опоры А14Б 530.000 СБ изготавливаются в соответствии с чертежами серии 5.900-7 выпуск 1

1771596622362-881337406-opora-a14b-529-razmery-fill-500x370

Обозначение

Условный проход Ду, мм

Допускаемые нагрузки, кгс

Размеры, мм

Масса, кг

Вертикальн.

Горизонтал.

Р

Q

L

А14Б 530.000

50

51

15,3

150,0

2,90

А14Б 530.000-01

50

51

15,3

150,0

3,90

А14Б 530.000-02

65

78

23,4

160,0

3,80

А14Б 530.000-03

65

78

23,4

160,0

4,20

А14Б 530.000-04

80

107

32,1

185,0

4,00

А14Б 530.000-05

80

107

32,1

185,0

5,20

А14Б 530.000-06

100

157

47,1

190,0

6,30

А14Б 530.000-07

100

157

47,1

190,0

6,70

 

Подбор и поставка

Уточним наличие и подготовим КП по этой позиции

Поможем с подбором исполнения, проверим доступность на складе и отправим коммерческое предложение по выбранной позиции или аналогам.

Смотрите также

Другие подкатегории раздела

Опоры подвижные трубопроводов
подвижные скользящие опоры трубопроводов. Подбор,консультация,продажа со склада в Москве, доставка по РФ
Накладка Т94 серия 4.903-10 выпуск 1 на тройники усиливающая
Накладка Т94 серия 4.903-10 выпуск 1
Крепления газопроводов УКГ Серия 5.905 - 18.05: Узлы и детали крепления газопроводов
Серия 5.905 - 18.05: Узлы и детали крепления газопроводов
Опоры водопровода в футляре
Опоры водопровода в футляре.Подбор,консультация,продажа со склада в Москве, доставка по РФ
Опоры 313.ТС-008.000 скользящие для трубопроводов в ППУ изоляции
Опоры 313.ТС-008.000 скользящие для трубопроводов в ППУ изоляции.Подбор,консультация,продажа со склада в Москве, доставка по РФ
Опоры ТД-1-487-1997.00.000 скользящие для трубопроводов в ППУ изоляции
Опоры ТД-1-487-1997.00.000 Подбор,консультация,продажа со склада в Москве, доставка по РФ
Серия 5.900-7 выпуск 3. Серия 5.900-7 выпуск 4
Серия 5.900-7 выпуск 3. Серия 5.900-7 выпуск 4.Подбор,консультация,продажа со склада в Москве, доставка по РФ
Опоры ГОСТ 30732-2006 скользящие опоры для стальных трубопроводов
Опоры ГОСТ 30732-2006/Подбор,консультация,продажа со склада в Москве, доставка по РФ