Логотип АстронЭнерго

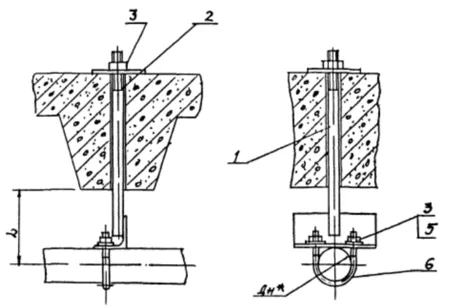
Подвески АПЭ 1400.0 серия 5.908-1

Подвески АПЭ 1400.0 серия 5.908-1

Подвески АПЭ 1400.0 СБ серия 5.908-1 для крепления трубы к железобетонным плитам перекрытия Дн 108 - 219 мм

Серия 5.908-1 - это стандарт типовых узлов крепления трубопроводов автоматического пожаротушения, рассчитанные на одновременное действие вертикальных и горизонтальных нагрузок.

Подвески АПЭ 1400.0 СБ применяются для крепления к железобетонным плитам перекрытия трубопроводов установок автоматического пожаротушения (АУПТ).

Стандартно  опоры АПЭ серия 5.908-1 изготавливаются из марок стали сталь 3, 20, 09Г2С. Стандартное покрытие – транспортировочный грунт ГФ-021.

Подвески для крепления труб к плитам перекрытия АПЭ 1400.0 СБ изготавливаются в соответствии с чертежами типовых конструкций серии 5.908-1.

    1769913132234-222447746-podveska_ape_1400.0_sb_fill_180x308                             1769913156443-724818221-podveska_ape_1400.0_sb_razmery_fill_450x307

Подбор и поставка

Уточним наличие и подготовим КП по этой позиции

Поможем с подбором исполнения, проверим доступность на складе и отправим коммерческое предложение по выбранной позиции или аналогам.

Смотрите также

Другие подкатегории раздела

Опоры подвижные трубопроводов
подвижные скользящие опоры трубопроводов. Подбор,консультация,продажа со склада в Москве, доставка по РФ
Накладка Т94 серия 4.903-10 выпуск 1 на тройники усиливающая
Накладка Т94 серия 4.903-10 выпуск 1
Крепления газопроводов УКГ Серия 5.905 - 18.05: Узлы и детали крепления газопроводов
Серия 5.905 - 18.05: Узлы и детали крепления газопроводов
Опоры водопровода в футляре
Опоры водопровода в футляре.Подбор,консультация,продажа со склада в Москве, доставка по РФ
Опоры 313.ТС-008.000 скользящие для трубопроводов в ППУ изоляции
Опоры 313.ТС-008.000 скользящие для трубопроводов в ППУ изоляции.Подбор,консультация,продажа со склада в Москве, доставка по РФ
Опоры ТД-1-487-1997.00.000 скользящие для трубопроводов в ППУ изоляции
Опоры ТД-1-487-1997.00.000 Подбор,консультация,продажа со склада в Москве, доставка по РФ
Серия 5.900-7 выпуск 3. Серия 5.900-7 выпуск 4
Серия 5.900-7 выпуск 3. Серия 5.900-7 выпуск 4.Подбор,консультация,продажа со склада в Москве, доставка по РФ
Опоры ГОСТ 30732-2006 скользящие опоры для стальных трубопроводов
Опоры ГОСТ 30732-2006/Подбор,консультация,продажа со склада в Москве, доставка по РФ