Логотип АстронЭнерго

Опоры АПЭ 1388.0 серия 5.908-1

Опоры АПЭ 1388.0 серия 5.908-1

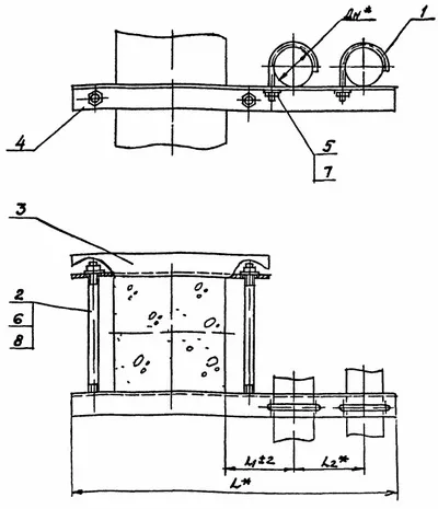
Опоры АПЭ 1388.0 серия 5.908-1 для крепления двух труб к железобетонной колонне Дн 18 - 89 мм

Серия 5.908-1 - это стандарт типовых узлов крепления трубопроводов автоматического пожаротушения, рассчитанные на одновременное действие вертикальных и горизонтальных нагрузок.

Опоры АПЭ 1388.0 СБ применяются для крепления к железобетонным колоннам двух трубопроводов установок автоматического пожаротушения (АУПТ).

Стандартно  опоры АПЭ серия 5.908-1 изготавливаются из марок стали сталь 3, 20, 09Г2С. Стандартное покрытие – транспортировочный грунт ГФ-021.

Опоры для крепления труб к железобетонным колоннам АПЭ 1388.0 СБ изготавливаются в соответствии с чертежами типовых конструкций серии 5.908-1.

1769866399095-961667388-opora_ape_1388.0_sb_fill_300x145                            1769866412812-61767337-opora_ape_1388.0_sb_razmery_fill_400x465

Обозначение Наружный диаметр трубопровода Дн, мм Теоритическая масса Расстояние от оси трубопровода до колонны L1, мм Расстояние между осями трубопроводов L2, мм Длина опоры L, мм
АПЭ 1388.0 18...30 2.60 кг. 60 75 640
АПЭ 1388.0-01 32...48 2.80 кг. 70 90 675
АПЭ 1388.0-02 50...65 6.70 кг. 90 100 715
АПЭ 1388.0-03 70...89 7.40 кг. 125 145 810

 

Подбор и поставка

Уточним наличие и подготовим КП по этой позиции

Поможем с подбором исполнения, проверим доступность на складе и отправим коммерческое предложение по выбранной позиции или аналогам.

Смотрите также

Другие подкатегории раздела

Опоры подвижные трубопроводов
подвижные скользящие опоры трубопроводов. Подбор,консультация,продажа со склада в Москве, доставка по РФ
Накладка Т94 серия 4.903-10 выпуск 1 на тройники усиливающая
Накладка Т94 серия 4.903-10 выпуск 1
Крепления газопроводов УКГ Серия 5.905 - 18.05: Узлы и детали крепления газопроводов
Серия 5.905 - 18.05: Узлы и детали крепления газопроводов
Опоры водопровода в футляре
Опоры водопровода в футляре.Подбор,консультация,продажа со склада в Москве, доставка по РФ
Опоры 313.ТС-008.000 скользящие для трубопроводов в ППУ изоляции
Опоры 313.ТС-008.000 скользящие для трубопроводов в ППУ изоляции.Подбор,консультация,продажа со склада в Москве, доставка по РФ
Опоры ТД-1-487-1997.00.000 скользящие для трубопроводов в ППУ изоляции
Опоры ТД-1-487-1997.00.000 Подбор,консультация,продажа со склада в Москве, доставка по РФ
Серия 5.900-7 выпуск 3. Серия 5.900-7 выпуск 4
Серия 5.900-7 выпуск 3. Серия 5.900-7 выпуск 4.Подбор,консультация,продажа со склада в Москве, доставка по РФ
Опоры ГОСТ 30732-2006 скользящие опоры для стальных трубопроводов
Опоры ГОСТ 30732-2006/Подбор,консультация,продажа со склада в Москве, доставка по РФ