Логотип АстронЭнерго

Опоры АПЭ 1382.0 серия 5.908-1

Опоры АПЭ 1382.0  серия 5.908-1

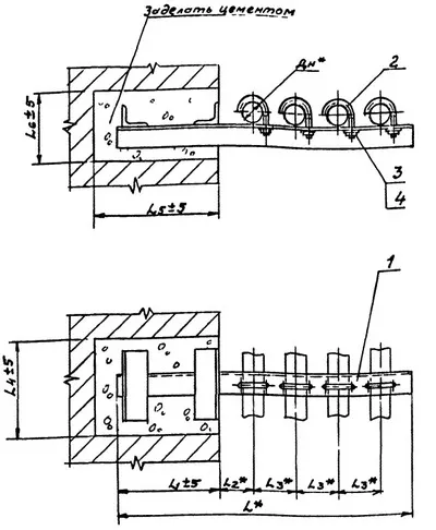
Опоры АПЭ 1382.0 серия 5.908-1 для крепления четырех труб к кирпичной стене Дн 18 - 89 мм

Серия 5.908-1 - это стандарт типовых узлов крепления трубопроводов автоматического пожаротушения, рассчитанные на одновременное действие вертикальных и горизонтальных нагрузок.

Опоры АПЭ 1382.0 СБ применяются для крепления к кирпичным стенам четырех трубопроводов установок автоматического пожаротушения.

Стандартно  опоры АПЭ серия 5.908-1 изготавливаются из марок стали сталь 3, 20, 09Г2С. Стандартное покрытие – транспортировочный грунт ГФ-021.

Опоры для крепления труб к кирпичной стене АПЭ 1382.0 СБ изготавливаются в соответствии с чертежами типовых конструкций серии 5.908-1.

1769856129902-940570875-opora_ape_1382.0_sb_fill_250x177                        1769856145218-842107788-opora_ape_1382.0_sb_razmery_fill_400x486

               

                    

       

Обозначение

Размеры в мм

Масса, кг

Дн

L

L₁

L₂

L₃

L₄

L₅

L₆

АПЭ 1382.0

18…30

505,0

150,0

60,0

75,0

160,0

120,0

110,0

    3,50

АПЭ 1382.0-01

32…48

620,0

200,0

70,0

90,0

170,0

220,0

120,0

    3,70

АПЭ 1382.0-02

50…65

825,0

250,0

105,0

125,0

205,0

270,0

145,0

   15,10

АПЭ 1382.0-03

70…89

960,0

300,0

125,0

145,0

240,0

320,0

180,0

   16,20

     

 

Подбор и поставка

Уточним наличие и подготовим КП по этой позиции

Поможем с подбором исполнения, проверим доступность на складе и отправим коммерческое предложение по выбранной позиции или аналогам.

Смотрите также

Другие подкатегории раздела

Опоры подвижные трубопроводов
подвижные скользящие опоры трубопроводов. Подбор,консультация,продажа со склада в Москве, доставка по РФ
Накладка Т94 серия 4.903-10 выпуск 1 на тройники усиливающая
Накладка Т94 серия 4.903-10 выпуск 1
Крепления газопроводов УКГ Серия 5.905 - 18.05: Узлы и детали крепления газопроводов
Серия 5.905 - 18.05: Узлы и детали крепления газопроводов
Опоры водопровода в футляре
Опоры водопровода в футляре.Подбор,консультация,продажа со склада в Москве, доставка по РФ
Опоры 313.ТС-008.000 скользящие для трубопроводов в ППУ изоляции
Опоры 313.ТС-008.000 скользящие для трубопроводов в ППУ изоляции.Подбор,консультация,продажа со склада в Москве, доставка по РФ
Опоры ТД-1-487-1997.00.000 скользящие для трубопроводов в ППУ изоляции
Опоры ТД-1-487-1997.00.000 Подбор,консультация,продажа со склада в Москве, доставка по РФ
Серия 5.900-7 выпуск 3. Серия 5.900-7 выпуск 4
Серия 5.900-7 выпуск 3. Серия 5.900-7 выпуск 4.Подбор,консультация,продажа со склада в Москве, доставка по РФ
Опоры ГОСТ 30732-2006 скользящие опоры для стальных трубопроводов
Опоры ГОСТ 30732-2006/Подбор,консультация,продажа со склада в Москве, доставка по РФ