Логотип АстронЭнерго

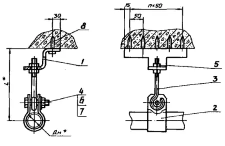
Подвески АПЭ 1564.0 серия 5.908-2

Подвески АПЭ 1564.0 серия 5.908-2

Подвески АПЭ 1564.0 СБ серия 5.908-2 для крепления трубы к плитам перекрытия Дн 18 - 65 мм

Серия 5.908-2 - это стандарт типовых узлов крепления трубопроводов автоматического пожаротушения, рассчитанные на одновременное действие вертикальных и горизонтальных нагрузок.

Подвески АПЭ 1564.0 СБ применяются для крепления к плитам перекрытия трубопроводов установок автоматического пожаротушения (АУПТ).

Стандартно подвески АПЭ 1564.0 СБ серия 5.908-2  изготавливаются из марок стали сталь 3, 20, 09Г2С. Стандартное покрытие – транспортировочный грунт ГФ-021.

Подвески для крепления труб к плитам перекрытия АПЭ 1564.0 СБ изготавливаются в соответствии с чертежами типовых конструкций серии 5.908-2.

                                         

Обозначение Размеры в мм Масса, кг
Дн L hx50
АПЭ 1564.0 18...30 120,0 1 0,70
АПЭ 1564.0-01 32...48 135,0 2 1,00
АПЭ 1564.0-02 50...65 150,0 4 1,60

 

1773076115053-944636878-podveska_dlya_krepleniya_truboprovodov_ape_15640

1773076133284-636601512-podveska_dlya_krepleniya_truboprovodov_ape_15640_2

 

Подбор и поставка

Уточним наличие и подготовим КП по этой позиции

Поможем с подбором исполнения, проверим доступность на складе и отправим коммерческое предложение по выбранной позиции или аналогам.

Смотрите также

Другие подкатегории раздела

Опоры подвижные трубопроводов
подвижные скользящие опоры трубопроводов. Подбор,консультация,продажа со склада в Москве, доставка по РФ
Накладка Т94 серия 4.903-10 выпуск 1 на тройники усиливающая
Накладка Т94 серия 4.903-10 выпуск 1
Крепления газопроводов УКГ Серия 5.905 - 18.05: Узлы и детали крепления газопроводов
Серия 5.905 - 18.05: Узлы и детали крепления газопроводов
Опоры водопровода в футляре
Опоры водопровода в футляре.Подбор,консультация,продажа со склада в Москве, доставка по РФ
Опоры 313.ТС-008.000 скользящие для трубопроводов в ППУ изоляции
Опоры 313.ТС-008.000 скользящие для трубопроводов в ППУ изоляции.Подбор,консультация,продажа со склада в Москве, доставка по РФ
Опоры ТД-1-487-1997.00.000 скользящие для трубопроводов в ППУ изоляции
Опоры ТД-1-487-1997.00.000 Подбор,консультация,продажа со склада в Москве, доставка по РФ
Серия 5.900-7 выпуск 3. Серия 5.900-7 выпуск 4
Серия 5.900-7 выпуск 3. Серия 5.900-7 выпуск 4.Подбор,консультация,продажа со склада в Москве, доставка по РФ
Опоры ГОСТ 30732-2006 скользящие опоры для стальных трубопроводов
Опоры ГОСТ 30732-2006/Подбор,консультация,продажа со склада в Москве, доставка по РФ