Опоры АПЭ 1551.0 серия 5.908-2
Опоры АПЭ 1551.0 СБ серия 5.908-2 для крепления трубы к кирпичной стене Дн 50 - 219 мм
Серия 5.908-2 - это стандарт типовых узлов крепления трубопроводов автоматического пожаротушения, рассчитанные на одновременное действие вертикальных и горизонтальных нагрузок.
Опоры АПЭ 1551.0 СБ применяются для крепления к кирпичным стенам трубопроводов установок автоматического пожаротушения (АУПТ).
Стандартно опоры АПЭ 1551.0 СБ серия 5.908-2 изготавливаются из марок стали сталь 3, 20, 09Г2С. Стандартное покрытие – транспортировочный грунт ГФ-021..
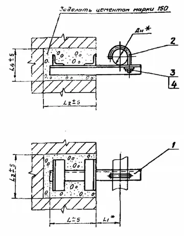
Опоры для крепления труб к кирпичной стене АПЭ 1551.0 СБ изготавливаются в соответствии с чертежами типовых конструкций серии 5.908-2.
| Обозначение | Наружный диаметр трубопровода Дн, мм | Теоритическая масса | Расстояние от оси трубопровода до стены L1, мм | Длина опоры, мм | Глубина заделки опоры L, мм |
| АПЭ 1551.0 | 50...65 | 2.40 кг. | 90 | 328 | 200 ±5 |
| АПЭ 1551.0-01 | 70...89 | 2.80 кг. | 125 | 376 | 200 ±5 |
| АПЭ 1551.0-02 | 108...140 | 4.30 кг. | 200 | 479 | 250 ±5 |
| АПЭ 1551.0-03 | 152...159 | 6.70 кг. | 280 | 618 | 250 ±5 |
| АПЭ 1551.0-04 | 219 | 8.95 кг. | 300 | 673 | 250 ±5 |
![]()

Подбор и поставка
Уточним наличие и подготовим КП по этой позиции
Поможем с подбором исполнения, проверим доступность на складе и отправим коммерческое предложение по выбранной позиции или аналогам.
Смотрите также
Другие подкатегории раздела
Опоры подвижные трубопроводов
подвижные скользящие опоры трубопроводов. Подбор,консультация,продажа со склада в Москве, доставка по РФ
Накладка Т94 серия 4.903-10 выпуск 1 на тройники усиливающая
Накладка Т94 серия 4.903-10 выпуск 1
Крепления газопроводов УКГ Серия 5.905 - 18.05: Узлы и детали крепления газопроводов
Серия 5.905 - 18.05: Узлы и детали крепления газопроводов
Опоры водопровода в футляре
Опоры водопровода в футляре.Подбор,консультация,продажа со склада в Москве, доставка по РФ
Опоры 313.ТС-008.000 скользящие для трубопроводов в ППУ изоляции
Опоры 313.ТС-008.000 скользящие для трубопроводов в ППУ изоляции.Подбор,консультация,продажа со склада в Москве, доставка по РФ
Опоры ТД-1-487-1997.00.000 скользящие для трубопроводов в ППУ изоляции
Опоры ТД-1-487-1997.00.000 Подбор,консультация,продажа со склада в Москве, доставка по РФ
Серия 5.900-7 выпуск 3. Серия 5.900-7 выпуск 4
Серия 5.900-7 выпуск 3. Серия 5.900-7 выпуск 4.Подбор,консультация,продажа со склада в Москве, доставка по РФ
Опоры ГОСТ 30732-2006 скользящие опоры для стальных трубопроводов
Опоры ГОСТ 30732-2006/Подбор,консультация,продажа со склада в Москве, доставка по РФ