Логотип АстронЭнерго

Неподвижные опоры "Энергия-Термо" для систем отопления DN15-40

Неподвижные опоры "Энергия-Термо" для систем отопления DN15-40

Неподвижные опоры "Энергия-Термо" для систем отопления DN15-40

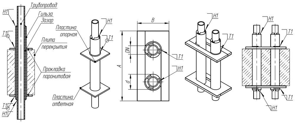
Неподвижные опоры «Энергия-Термо» предназначены для трубопроводов внутренних инженерных систем отопления и теплоснабжения. Неподвижные опоры выдерживают нагрузку от распорного усилия сильфонного компенсатора, вес трубопровода с теплоносителем, вес изоляции и трубопроводной арматуры.

1769775799093-405517116-c2bd56807f4666cb7e3207073048c374

Схема устройства и установки неподвижных опор «Энергия-Термо» DN15…DN40

1769775876843-95195335-______________1

Таблица 1. Основные технические параметры неподвижной опоры «Энергия-Термо» DN15…DN40

1769775974558-627743244-______________1

Таблица 2. Комплектация неподвижных опор «Энергия-Термо» DN15…DN40

1769777283893-364655597-______________2

Подбор и поставка

Уточним наличие и подготовим КП по этой позиции

Поможем с подбором исполнения, проверим доступность на складе и отправим коммерческое предложение по выбранной позиции или аналогам.

Смотрите также

Другие подкатегории раздела

Опоры подвижные трубопроводов
подвижные скользящие опоры трубопроводов. Подбор,консультация,продажа со склада в Москве, доставка по РФ
Накладка Т94 серия 4.903-10 выпуск 1 на тройники усиливающая
Накладка Т94 серия 4.903-10 выпуск 1
Крепления газопроводов УКГ Серия 5.905 - 18.05: Узлы и детали крепления газопроводов
Серия 5.905 - 18.05: Узлы и детали крепления газопроводов
Опоры водопровода в футляре
Опоры водопровода в футляре.Подбор,консультация,продажа со склада в Москве, доставка по РФ
Опоры 313.ТС-008.000 скользящие для трубопроводов в ППУ изоляции
Опоры 313.ТС-008.000 скользящие для трубопроводов в ППУ изоляции.Подбор,консультация,продажа со склада в Москве, доставка по РФ
Опоры ТД-1-487-1997.00.000 скользящие для трубопроводов в ППУ изоляции
Опоры ТД-1-487-1997.00.000 Подбор,консультация,продажа со склада в Москве, доставка по РФ
Серия 5.900-7 выпуск 3. Серия 5.900-7 выпуск 4
Серия 5.900-7 выпуск 3. Серия 5.900-7 выпуск 4.Подбор,консультация,продажа со склада в Москве, доставка по РФ
Опоры ГОСТ 30732-2006 скользящие опоры для стальных трубопроводов
Опоры ГОСТ 30732-2006/Подбор,консультация,продажа со склада в Москве, доставка по РФ