Логотип АстронЭнерго

Опоры А14Б 567.000 сериz 5.900-7 выпуск 4

Опоры А14Б 567.000 сериz 5.900-7 выпуск 4

Опоры А14Б 567.000 сериz 5.900-7 выпуск 4 подвижные корпусные приварные с креплением к стенам, перекрытиям и к полу Ду 50 - 100 мм

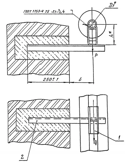
Опорные конструкции по серии 5.900-7 выпуск 4 разработаны для установки на стены, перекрытия и полы. Крепление происходит с помощью заделки металлических кронштейнов в кирпичные стены. Трубопроводы крепятся к перекрытиям с помощью подвески или посредством приварки к закладным деталям, находящимся в стыках между плитами. 

Опоры А14Б 567.000 применяются для крепления к стенам, перекрытиям или и к полу трубопроводов, транспортирующих рабучую среду с температурой от 0 до +440 °C с максимальным давлением до 1,6 МПа (16 кгс/см2). Опоры подвижные А14Б 567.000 предназначены для компенсации сдвига горизонтальных и вертикальных нагрузок трубопровода.

Стандартно подвижные двухрядные опоры А14Б 548.000 изготавливаются из марки стали Ст.3,20,09Г2С.
Стандартное покрытие — транспортировочный грунт ГФ-021.

Опоры подвижные А14Б 567.000 СБ изготавливаются в соответствии с чертежами серии 5.900-7 выпуск 4.

1769357451865-613121696-opora_a14b_567_fill_230x192  1769357470063-777755321-opora_a14b_567_razmery_fill_400x518

Обозначение

Условный проход Ду, мм

Допускаемые нагрузки, кгс

Размеры, мм

Масса, кг

Верттикальн.

Горизонтальн.

l

Р

Q

А14Б 567.000

50

51

15

150,0

2,23

А14Б 567.000-01

50

51

15

150,0

2,67

А14Б 567.000-02

65

78

23

160,0

3,00

А14Б 567.000-03

65

78

23

160,0

3,40

А14Б 567.000-04

80

107

32

185,0

3,03

А14Б 567.000-05

80

107

32

185,0

3,47

А14Б 567.000-06

100

157

47

195,0

4,70

А14Б 567.000-07

100

157

47

195,0

5,20

 

Подбор и поставка

Уточним наличие и подготовим КП по этой позиции

Поможем с подбором исполнения, проверим доступность на складе и отправим коммерческое предложение по выбранной позиции или аналогам.

Смотрите также

Другие подкатегории раздела

Опоры подвижные трубопроводов
подвижные скользящие опоры трубопроводов. Подбор,консультация,продажа со склада в Москве, доставка по РФ
Накладка Т94 серия 4.903-10 выпуск 1 на тройники усиливающая
Накладка Т94 серия 4.903-10 выпуск 1
Крепления газопроводов УКГ Серия 5.905 - 18.05: Узлы и детали крепления газопроводов
Серия 5.905 - 18.05: Узлы и детали крепления газопроводов
Опоры водопровода в футляре
Опоры водопровода в футляре.Подбор,консультация,продажа со склада в Москве, доставка по РФ
Опоры 313.ТС-008.000 скользящие для трубопроводов в ППУ изоляции
Опоры 313.ТС-008.000 скользящие для трубопроводов в ППУ изоляции.Подбор,консультация,продажа со склада в Москве, доставка по РФ
Опоры ТД-1-487-1997.00.000 скользящие для трубопроводов в ППУ изоляции
Опоры ТД-1-487-1997.00.000 Подбор,консультация,продажа со склада в Москве, доставка по РФ
Опоры ГОСТ 30732-2006 скользящие опоры для стальных трубопроводов
Опоры ГОСТ 30732-2006/Подбор,консультация,продажа со склада в Москве, доставка по РФ
Хомуты сварные ГОСТ 24138-80
Хомуты сварные по ГОСТ 24138-80. Подбор,консультация,продажа со склада в Москве, доставка по РФ