Логотип АстронЭнерго

Опоры А14Б 566.000  серия 5.900-7 выпуск 4

Опоры А14Б 566.000  серия 5.900-7 выпуск 4

Опоры А14Б 566.000  серия 5.900-7 выпуск 4 подвижные хомутовые с креплением к стенам, перекрытиям и к полу Ду 50 - 100 мм

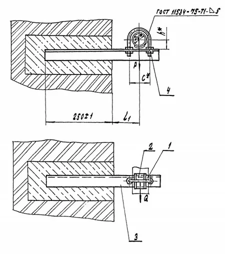
Опорные конструкции по серии 5.900-7 выпуск 4 разработаны для установки на стены, перекрытия и полы. Крепление происходит с помощью заделки металлических кронштейнов в кирпичные стены. Трубопроводы крепятся к перекрытиям с помощью подвески или посредством приварки к закладным деталям, находящимся в стыках между плитами. 

 Опоры А14Б 566.000 применяются для крепления к стенам, перекрытиям или и к полу трубопроводов, транспортирующих рабучую среду с температурой от 0 до +440 °C с максимальным давлением до 1,6 МПа (16 кгс/см2). Опоры подвижные А14Б 566.000 состоят из хомута и равнополочного уголка и предназначены для компенсации сдвига горизонтальных и вертикальных нагрузок трубопровода.

Стандартно подвижные двухрядные опоры А14Б 566.000 изготавливаются из марки стали Ст.3, 20,09Г2С.
Стандартное покрытие — транспортировочный грунт ГФ-021.

Опоры подвижные А14Б 566.000 СБ изготавливаются в соответствии с чертежами серии 5.900-7 выпуск 4.

1769353004302-298792305-opora_a14b_566_fill_300x253                    1769353026636-891476008-opora_a14b_566_razmery_fill_450x508

Обозначение

Условный проход Ду, мм

Допускаемые нагрузки, кгс

Размеры, мм

Масса, кг

Верттикальн.

Горизонтальн.

l₁

Р

Q

А14Б 566.000

50

40

12

100,0

1,21

А14Б 566.000-01

65

56

17

120,0

1,41

А14Б 566.000-02

80

72

22

130,0

1,63

А14Б 566.000-03

100

120

36

140,0

2,02

 

 

 

Подбор и поставка

Уточним наличие и подготовим КП по этой позиции

Поможем с подбором исполнения, проверим доступность на складе и отправим коммерческое предложение по выбранной позиции или аналогам.

Смотрите также

Другие подкатегории раздела

Опоры подвижные трубопроводов
подвижные скользящие опоры трубопроводов. Подбор,консультация,продажа со склада в Москве, доставка по РФ
Накладка Т94 серия 4.903-10 выпуск 1 на тройники усиливающая
Накладка Т94 серия 4.903-10 выпуск 1
Крепления газопроводов УКГ Серия 5.905 - 18.05: Узлы и детали крепления газопроводов
Серия 5.905 - 18.05: Узлы и детали крепления газопроводов
Опоры водопровода в футляре
Опоры водопровода в футляре.Подбор,консультация,продажа со склада в Москве, доставка по РФ
Опоры 313.ТС-008.000 скользящие для трубопроводов в ППУ изоляции
Опоры 313.ТС-008.000 скользящие для трубопроводов в ППУ изоляции.Подбор,консультация,продажа со склада в Москве, доставка по РФ
Опоры ТД-1-487-1997.00.000 скользящие для трубопроводов в ППУ изоляции
Опоры ТД-1-487-1997.00.000 Подбор,консультация,продажа со склада в Москве, доставка по РФ
Опоры ГОСТ 30732-2006 скользящие опоры для стальных трубопроводов
Опоры ГОСТ 30732-2006/Подбор,консультация,продажа со склада в Москве, доставка по РФ
Хомуты сварные ГОСТ 24138-80
Хомуты сварные по ГОСТ 24138-80. Подбор,консультация,продажа со склада в Москве, доставка по РФ