Логотип АстронЭнерго

Опоры А14Б 565.000 серия 5.900-7 выпуск 3

Опоры А14Б 565.000 серия 5.900-7 выпуск 3

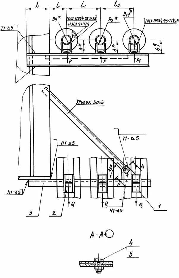
Опоры А14Б 565.000  серия 5.900-7 выпуск 3 подвижные корпусные приварные трехрядные с креплением к металлической колонне, для труб с разными диаметрами Ду 65 - 150 мм, Ду1 50 - 100 мм.

Опора А14Б 565.000 СБ Опора подвижная трехрядная.

Подвижные трехрядные опоры А14Б 565.000 СБ изготавливаются в соответствии с чертежами серии 5.900-7 выпуск 3.

Опоры А14Б 565.000 применяются для крепления к металлическим колоннам трубопроводов, транспортирующих воду и пар с температурой до +150°С, либо холодоноситель с температурой от -15°С до +15°С с максимальным давлением до 1,6 МПа (16 кгс/см2).

Стандартно подвижные двухрядные опоры А14Б 548.000 изготавливаются из марки стали Ст.3,20,09Г2С.
Стандартное покрытие — транспортировочный грунт ГФ-021.

Подвижные трехрядные опоры А14Б 565.000 СБ изготавливаются в соответствии с чертежами серии 5.900-7 выпуск 3.

1768804994151-735127616-opora_a14b_565_razmery

Обозначение

Условный проход, мм

Допускаемые нагрузки, кгс

Размеры, мм

Масса, кг

Вертикальн.

Горизонтальн.

L

l

l₁

l₂

Ду

Ду₁

Р

Р₁

Q

Q₁

А14Б 565.000

65

50

78

51

23,4

15,3

220,0

160,0

270,0

260,0

11,70

А14Б 565.000-01

65

50

78

51

23,4

15,3

220,0

160,0

270,0

260,0

12,60

А14Б 565.000-02

80

50

107

51

32,1

15,3

220,0

185,0

320,0

285,0

14,60

А14Б 565.000-03

80

50

107

51

32,1

15,3

220,0

185,0

320,0

285,0

15,60

А14Б 565.000-04

100

50

157

51

47,1

15,3

250,0

195,0

340,0

295,0

19,14

А14Б 565.000-05

100

50

157

51

47,1

15,3

250,0

195,0

340,0

295,0

20,10

А14Б 565.000-06

125

50

220

51

66

15,3

270,0

210,0

370,0

310,0

21,62

А14Б 565.000-07

125

50

220

51

66

15,3

270,0

210,0

370,0

310,0

22,60

А14Б 565.000-08

150

50

325

51

97,5

15,3

285,0

220,0

390,0

320,0

35,30

А14Б 565.000-09

150

50

325

51

97,5

15,3

285,0

220,0

390,0

320,0

36,40

А14Б 565.000-10

100

80

157

107

47,1

32,1

250,0

195,0

340,0

330,0

21,90

А14Б 565.000-11

100

80

157

107

47,1

32,1

250,0

195,0

340,0

330,0

22,90

А14Б 565.000-12

125

80

220

107

66

32,1

270,0

210,0

370,0

345,0

26,01

А14Б 565.000-13

125

80

220

107

66

32,1

270,0

210,0

370,0

345,0

27,00

А14Б 565.000-14

150

80

325

107

97,5

32,1

285,0

220,0

390,0

355,0

36,20

А14Б 565.000-15

150

80

325

107

97,5

32,1

285,0

220,0

390,0

355,0

37,30

А14Б 565.000-16

125

100

220

157

66

47,1

270,0

210,0

370,0

355,0

35,00

А14Б 565.000-17

125

100

220

157

66

47,1

270,0

210,0

370,0

355,0

36,00

А14Б 565.000-18

150

100

325

157

97,5

47,1

285,0

220,0

390,0

365,0

36,85

А14Б 565.001-19

150

100

325

157

97,5

47,1

285,0

220,0

390,0

365,0

38,02

 

Подбор и поставка

Уточним наличие и подготовим КП по этой позиции

Поможем с подбором исполнения, проверим доступность на складе и отправим коммерческое предложение по выбранной позиции или аналогам.

Смотрите также

Другие подкатегории раздела

Опоры подвижные трубопроводов
подвижные скользящие опоры трубопроводов. Подбор,консультация,продажа со склада в Москве, доставка по РФ
Накладка Т94 серия 4.903-10 выпуск 1 на тройники усиливающая
Накладка Т94 серия 4.903-10 выпуск 1
Крепления газопроводов УКГ Серия 5.905 - 18.05: Узлы и детали крепления газопроводов
Серия 5.905 - 18.05: Узлы и детали крепления газопроводов
Опоры водопровода в футляре
Опоры водопровода в футляре.Подбор,консультация,продажа со склада в Москве, доставка по РФ
Опоры 313.ТС-008.000 скользящие для трубопроводов в ППУ изоляции
Опоры 313.ТС-008.000 скользящие для трубопроводов в ППУ изоляции.Подбор,консультация,продажа со склада в Москве, доставка по РФ
Опоры ТД-1-487-1997.00.000 скользящие для трубопроводов в ППУ изоляции
Опоры ТД-1-487-1997.00.000 Подбор,консультация,продажа со склада в Москве, доставка по РФ
Опоры ГОСТ 30732-2006 скользящие опоры для стальных трубопроводов
Опоры ГОСТ 30732-2006/Подбор,консультация,продажа со склада в Москве, доставка по РФ
Хомуты сварные ГОСТ 24138-80
Хомуты сварные по ГОСТ 24138-80. Подбор,консультация,продажа со склада в Москве, доставка по РФ