Логотип АстронЭнерго

Опоры А14Б 564.000 серия 5.900-7 выпуск 3

Опоры А14Б 564.000  серия 5.900-7 выпуск 3

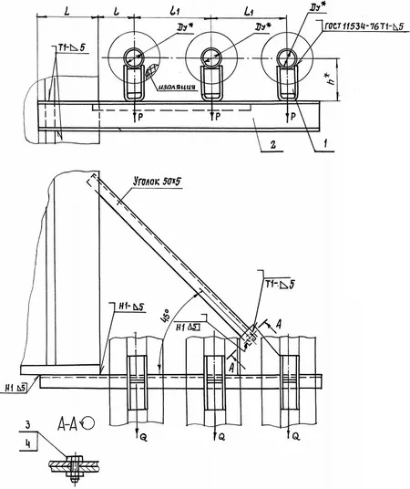
Опоры А14Б 564.000  серия 5.900-7 выпуск 3 подвижные корпусные приварные трехрядные с креплением к металлической колонне Ду 50 - 100 мм.

Опора. А14Б 564.000 СБ Опора подвижная трехрядная.

Подвижные трехрядные опоры А14Б 564.000 СБ изготавливаются в соответствии с чертежами серии 5.900-7 выпуск 3.

Опоры А14Б 564.000 применяются для крепления к металлическим колоннам трубопроводов, транспортирующих воду и пар с температурой до +150°С, либо холодоноситель с температурой от -15°С до +15°С с максимальным давлением до 1,6 МПа (16 кгс/см2). 

Стандартно подвижные двухрядные опоры А14Б 548.000 изготавливаются из марки стали Ст.3,20,09Г2С.
Стандартное покрытие — транспортировочный грунт ГФ-021.

Подвижные трехрядные опоры А14Б 564000 СБ изготавливаются в соответствии с чертежами серии 5.900-7 выпуск 3.

 

1768804697867-821740732-opora_a14b_564_razmery_fill_450x536

Обозначение

Условный проход Ду, мм

Допускаемые нагрузки, кгс

Размеры, мм

Масса, кг

Верттикальн.

Горизонтальн.

L

l

l₁

Р

Q

А14Б 564.000

50

51

15,3

195,0

150,0

245,0

7,75

А14Б 564.000-01

50

51

15,3

195,0

150,0

245,0

8,32

А14Б 564.000-02

65

78

23,4

210,0

160,0

270,0

9,85

А14Б 564.000-03

65

78

23,4

210,0

160,0

270,0

10,46

А14Б 564.000-04

80

107

32,1

220,0

185,0

320,0

15,24

А14Б 564.000-05

80

107

32,1

220,0

185,0

320,0

15,82

А14Б 564.000-06

100

151

47,1

250,0

195,0

340,0

19,80

А14Б 564.000-07

100

151

47,1

250,0

195,0

340,0

20,84

 

Подбор и поставка

Уточним наличие и подготовим КП по этой позиции

Поможем с подбором исполнения, проверим доступность на складе и отправим коммерческое предложение по выбранной позиции или аналогам.

Смотрите также

Другие подкатегории раздела

Опоры подвижные трубопроводов
подвижные скользящие опоры трубопроводов. Подбор,консультация,продажа со склада в Москве, доставка по РФ
Накладка Т94 серия 4.903-10 выпуск 1 на тройники усиливающая
Накладка Т94 серия 4.903-10 выпуск 1
Крепления газопроводов УКГ Серия 5.905 - 18.05: Узлы и детали крепления газопроводов
Серия 5.905 - 18.05: Узлы и детали крепления газопроводов
Опоры водопровода в футляре
Опоры водопровода в футляре.Подбор,консультация,продажа со склада в Москве, доставка по РФ
Опоры 313.ТС-008.000 скользящие для трубопроводов в ППУ изоляции
Опоры 313.ТС-008.000 скользящие для трубопроводов в ППУ изоляции.Подбор,консультация,продажа со склада в Москве, доставка по РФ
Опоры ТД-1-487-1997.00.000 скользящие для трубопроводов в ППУ изоляции
Опоры ТД-1-487-1997.00.000 Подбор,консультация,продажа со склада в Москве, доставка по РФ
Опоры ГОСТ 30732-2006 скользящие опоры для стальных трубопроводов
Опоры ГОСТ 30732-2006/Подбор,консультация,продажа со склада в Москве, доставка по РФ
Хомуты сварные ГОСТ 24138-80
Хомуты сварные по ГОСТ 24138-80. Подбор,консультация,продажа со склада в Москве, доставка по РФ