Опоры А14Б 522.000 серия 5.900-7 выпуск 1
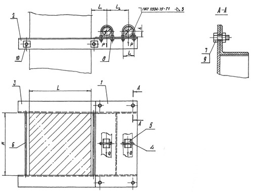
Опоры А14Б 522.000 серия 5.900-7 выпуск 1 подвижные хомутовые двухрядные с креплением к железнобетонной колонне Ду 50 - 150 мм
Опоры А14Б 522.000 применяются для крепления неизолированных трубопроводов, транспортирующих воду и пар с температурой до +150°С, либо холодоноситель с температурой от -15°С до +15°С с максимальным давлением до 1,6 МПа (16 кгс/см2).
Стандартно опоры А14Б 522.000 изготавливаются из марки стали Ст.3,20,09Г2С.
Стандартное покрытие — транспортировочный грунт ГФ-021.
Подвижные опоры А14Б 522.000 СБ изготавливаются в соответствии с чертежами серии 5.900-7 выпуск 1

|
бозначение |
Условный проход Ду*, мм |
Допускаемые нагрузки, кгс |
Размеры, мм |
Масса, кг |
|||
|
Вертик. |
Горизонт. |
L |
l₁ |
l₂ |
|||
|
Р |
Q |
||||||
|
А14Б 522.000 |
50 |
40 |
12 |
400,0 |
100,0 |
140,0 |
25,30 |
|
А14Б 522.000-01 |
65 |
56 |
17 |
400,0 |
120,0 |
160,0 |
27,40 |
|
А14Б 522.000-02 |
80 |
72 |
22 |
400,0 |
130,0 |
175,0 |
29,10 |
|
А14Б 522.000-03 |
100 |
120 |
36 |
400,0 |
140,0 |
195,0 |
47,50 |
|
А14Б 522.000-04 |
125 |
175 |
52 |
400,0 |
155,0 |
225,0 |
54,90 |
|
А14Б 522.000-05 |
150 |
266 |
80 |
400,0 |
170,0 |
270,0 |
69,60 |
|
А14Б 522.000-06 |
50 |
40 |
12 |
400,0 |
100,0 |
140,0 |
30,40 |
|
А14Б 522.000-07 |
65 |
56 |
17 |
400,0 |
120,0 |
160,0 |
32,80 |
|
А14Б 522.000-08 |
80 |
72 |
22 |
400,0 |
130,0 |
175,0 |
35,10 |
|
А14Б 522.000-09 |
100 |
120 |
36 |
400,0 |
140,0 |
195,0 |
54,20 |
|
А14Б 522.000-10 |
125 |
175 |
52 |
400,0 |
155,0 |
225,0 |
59,00 |
|
А14Б 522.000-11 |
150 |
266 |
80 |
400,0 |
170,0 |
270,0 |
78,80 |
|
А14Б 522.000-12 |
50 |
40 |
12 |
600,0 |
100,0 |
140,0 |
28,00 |
|
А14Б 522.000-13 |
65 |
56 |
17 |
600,0 |
120,0 |
160,0 |
30,20 |
|
А14Б 522.000-14 |
80 |
72 |
22 |
600,0 |
130,0 |
175,0 |
31,80 |
|
А14Б 522.000-15 |
100 |
120 |
36 |
600,0 |
140,0 |
195,0 |
53,30 |
|
А14Б 522.000-16 |
125 |
175 |
52 |
600,0 |
155,0 |
225,0 |
61,10 |
|
А14Б 522.000-17 |
150 |
266 |
80 |
600,0 |
170,0 |
270,0 |
75,60 |
Уточним наличие и подготовим КП по этой позиции
Поможем с подбором исполнения, проверим доступность на складе и отправим коммерческое предложение по выбранной позиции или аналогам.