Логотип АстронЭнерго

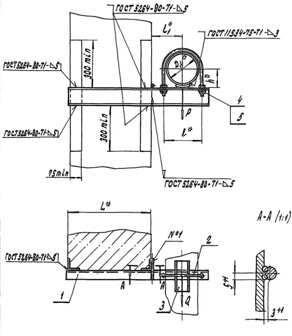
Опоры А14Б 509.000 серия 5.900-7 выпуск 1

Опоры А14Б 509.000 серия 5.900-7 выпуск 1

Опоры А14Б 509.000 серия 5.900-7 выпуск 1 подвижные хомутовые с креплением к железнобетонной колонне Ду 200 - 250 мм

Опоры А14Б 509.000 применяются для крепления неизолированных трубопроводов, транспортирующих воду и пар с температурой до +150°С, либо холодоноситель с температурой от -15°С до +15°С с максимальным давлением до 1,6 МПа (16 кгс/см2).

Стандартно  опоры А14Б 509.000 изготавливаются из марки стали Ст.3,20,09Г2С.
Стандартное покрытие — транспортировочный грунт ГФ-021.

Подвижные опоры А14Б 509.000 СБ изготавливаются в соответствии с чертежами серии 5.900-7 выпуск 1

1771500188137-494499547-opora-a14b-509-razmery

 

Обозначение

Условный проход Ду*, мм

Допускаемые нагрузки, кгс

Размеры, мм

 

Масса, кг

Вертик.

Горизонт.

L

l₁

Р

Q

А14Б 509.000

200

590

177

400,0

200,0

10,23

А14Б 509.000-01

250

840

252

400,0

240,0

15,45

А14Б 509.000-02

200

590

177

600,0

200,0

12,34

А14Б 509.000-03

250

840

252

600,0

240,0

18,36

 

Подбор и поставка

Уточним наличие и подготовим КП по этой позиции

Поможем с подбором исполнения, проверим доступность на складе и отправим коммерческое предложение по выбранной позиции или аналогам.

Смотрите также

Другие подкатегории раздела

Опоры подвижные трубопроводов
подвижные скользящие опоры трубопроводов. Подбор,консультация,продажа со склада в Москве, доставка по РФ
Накладка Т94 серия 4.903-10 выпуск 1 на тройники усиливающая
Накладка Т94 серия 4.903-10 выпуск 1
Крепления газопроводов УКГ Серия 5.905 - 18.05: Узлы и детали крепления газопроводов
Серия 5.905 - 18.05: Узлы и детали крепления газопроводов
Опоры водопровода в футляре
Опоры водопровода в футляре.Подбор,консультация,продажа со склада в Москве, доставка по РФ
Опоры 313.ТС-008.000 скользящие для трубопроводов в ППУ изоляции
Опоры 313.ТС-008.000 скользящие для трубопроводов в ППУ изоляции.Подбор,консультация,продажа со склада в Москве, доставка по РФ
Опоры ТД-1-487-1997.00.000 скользящие для трубопроводов в ППУ изоляции
Опоры ТД-1-487-1997.00.000 Подбор,консультация,продажа со склада в Москве, доставка по РФ
Серия 5.900-7 выпуск 3. Серия 5.900-7 выпуск 4
Серия 5.900-7 выпуск 3. Серия 5.900-7 выпуск 4.Подбор,консультация,продажа со склада в Москве, доставка по РФ
Опоры ГОСТ 30732-2006 скользящие опоры для стальных трубопроводов
Опоры ГОСТ 30732-2006/Подбор,консультация,продажа со склада в Москве, доставка по РФ