Логотип АстронЭнерго

Опоры ТС-623.00.00 серия 5.903-13 выпуск 8-95

Опоры ТС-623.00.00  серия 5.903-13 выпуск 8-95

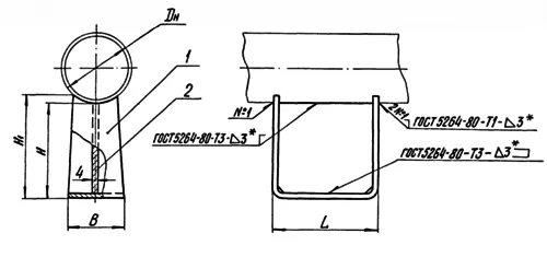
Опоры ТС-623.00.00  серия 5.903-13 выпуск 8-95 корпусные приварные подвижные с одним ребром Дн 32 - 159 мм.

Серия 5.903-13 Выпуск 8-95 - это стандарт подвижных опор для различного типа трубопроводов. При использовании опор данных стандартов при монтаже, удается достичь минимизирования сдвига трубы. Опоры используются с трубопроводами для сохранения их целостности и защиты от непредвиденных ситуаций. Качественная опора компенсирует сдвиг трубы в результате воздействия посторонней нагрузки. Благодаря использованию комплекса элементов стандарта серии 5.903-13 Выпуск 8-95, можно полностью оборудовать трубопровод и повысить его устойчивость к нагрузкам и термическому воздействия.

Опоры подвижные приварные ТС-623.00.00 предназначены для трубопроводов с рабочим давлением Pу до 4,0 МПа и рабочей температурой tраб до +425 °С.

Скользящие приварные опоры Опоры ТС-623.00.00  используются для трубопроводов диаметром от 32 до 159 мм. Изготавливаются по чертежу ТС-623.000СБ серии 5.903-13 вып. 8-95 из углеродистой стали 3. Возможно изготовление из стали 20, 09Г2С.

Опоры ТС-623.00.00 Состоят из корпуса и ребра жесткости.

1768468439168-13921718-opora_ts_623_razmery_fill_500x235

   

Технические параметры опор ТС-623.00.00  серия 5.903-13 выпуск 8-95 :

Наименование

Дн

Наибольшая вертикальная нагрузка кН (mc)

Высота, мм

Ширина, мм

Длина, мм

Масса изделия, кг

1

ТС-623.000

32,38,45

1,2 (120)

106

50

170

0,97

2

ТС-623.000 - 01

32,38,45

1,2 (120)

154

50

170

1,35

3

ТС-623.000 - 02

32,38,45

1,2 (120)

204

50

170

1,72

4

ТС-623.000 - 03

57,76

2,2 (220)

108

70

170

1,20

5

ТС-623.000 - 04

57,76

2,2 (220)

158

70

170

1,64

6

ТС-623.000 - 05

57,76

2,2 (220)

208

70

170

2,09

7

ТС-623.000 - 06

89,108

4,0 (400)

113

90

170

1,46

8

ТС-623.000 - 07

89,108

4,0 (400)

163

90

170

1,97

9

ТС-623.000 - 08

89,108

4,0 (400)

213

90

170

2,48

10

ТС-623.000 - 09

133,159

8,0 (800)

118

120

170

1,82

11

ТС-623.000 - 10

133,159

8,0 (800)

158

120

170

2,42

12

ТС-623.000 - 11

133,159

8,0 (800)

218

120

170

3,03

13

ТС-623.000 - 12

32,38,45

1,2 (120)

106

50

340

1,76

14

ТС-623.000 - 13

32,38,45

1,2 (120)

154

50

340

2,37

15

ТС-623.000 - 14

32,38,45

1,2 (120)

204

50

340

3,10

16

ТС-623.000 - 15

57,76

2,2 (220)

108

70

340

2,10

17

ТС-623.000 - 16

57,76

2,2 (220)

158

70

340

2,78

18

ТС-623.000 - 17

57,76

2,2 (220)

208

70

340

3,56

19

ТС-623.000 - 18

89,108

4,0 (400)

113

90

340

2,46

20

ТС-623.000 - 19

89,108

4,0 (400)

163

90

340

3,21

21

ТС-623.000 - 20

89,108

4,0 (400)

213

90

340

4,06

22

ТС-623.000 - 21

133,159

8,0 (800)

118

120

340

2,98

23

ТС-623.000 - 22

133,159

8,0 (800)

158

120

340

3,82

24

ТС-623.000 - 23

133,159

8,0 (800)

218

120

340

4,77

1773812405182-480776799-opora_skolzyashaya_privarnaya_ts-623000

1773812419048-970578672-opora_skolzyashaya_privarnaya_ts-623000_2

1773812433430-437153125-opora_skolzyashaya_privarnaya_ts-623000_3

 

Подбор и поставка

Уточним наличие и подготовим КП по этой позиции

Поможем с подбором исполнения, проверим доступность на складе и отправим коммерческое предложение по выбранной позиции или аналогам.

Смотрите также

Другие подкатегории раздела

Опоры подвижные трубопроводов
подвижные скользящие опоры трубопроводов. Подбор,консультация,продажа со склада в Москве, доставка по РФ
Накладка Т94 серия 4.903-10 выпуск 1 на тройники усиливающая
Накладка Т94 серия 4.903-10 выпуск 1
Крепления газопроводов УКГ Серия 5.905 - 18.05: Узлы и детали крепления газопроводов
Серия 5.905 - 18.05: Узлы и детали крепления газопроводов
Опоры водопровода в футляре
Опоры водопровода в футляре.Подбор,консультация,продажа со склада в Москве, доставка по РФ
Опоры 313.ТС-008.000 скользящие для трубопроводов в ППУ изоляции
Опоры 313.ТС-008.000 скользящие для трубопроводов в ППУ изоляции.Подбор,консультация,продажа со склада в Москве, доставка по РФ
Опоры ТД-1-487-1997.00.000 скользящие для трубопроводов в ППУ изоляции
Опоры ТД-1-487-1997.00.000 Подбор,консультация,продажа со склада в Москве, доставка по РФ
Серия 5.900-7 выпуск 3. Серия 5.900-7 выпуск 4
Серия 5.900-7 выпуск 3. Серия 5.900-7 выпуск 4.Подбор,консультация,продажа со склада в Москве, доставка по РФ
Опоры ГОСТ 30732-2006 скользящие опоры для стальных трубопроводов
Опоры ГОСТ 30732-2006/Подбор,консультация,продажа со склада в Москве, доставка по РФ