Логотип АстронЭнерго

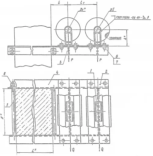
Опоры А14Б 539.000 серия 5.900-7 выпуск 2

Опоры А14Б 539.000 серия 5.900-7 выпуск 2

Опоры А14Б 539.000 серия 5.900-7 выпуск 2 подвижные корпусные приварные двухрядные с креплением к железнобетонной колонне Ду 50 - 150 мм

Опоры А14Б 539.000 применяются для крепления изолированных трубопроводов, транспортирующих воду и пар с температурой до +150°С, либо холодоноситель с температурой от -15°С до +15°С с максимальным давлением до 1,6 МПа (16 кгс/см2).
Стандартно  опоры А14Б 539.000 изготавливаются из марки стали Ст.3,20,09Г2С.
Стандартное покрытие — транспортировочный грунт ГФ-021.
Подвижные опоры А14Б 539.000 СБ изготавливаются в соответствии с чертежами серии 5.900-7 выпуск 1

1771738852819-564458612-opora-a14b-539-razmery-fill-500x509

значение

Условный проход Ду, мм

Допускаемые нагрузки, кгс

Размеры, мм

Масса, кг

Вертикальн.

Горизонтал.

Р

Q

L

l

l₁

Н

А14Б 539.000

50

51

15,3

400,0

150,0

230,0

400,0

32,20

А14Б 539.000-01

50

51

15,3

400,0

150,0

230,0

400,0

33,10

А14Б 539.000-02

65

78

23,4

400,0

160,0

250,0

400,0

32,50

А14Б 539.000-03

65

78

23,4

400,0

160,0

250,0

400,0

33,40

А14Б 539.000-04

80

107

32,1

400,0

185,0

300,0

400,0

56,80

А14Б 539.000-05

80

107

32,1

400,0

185,0

300,0

400,0

57,80

А14Б 539.000-06

100

157

47,1

400,0

195,0

320,0

400,0

58,50

А14Б 539.000-07

100

157

47,1

400,0

195,0

320,0

400,0

59,60

А14Б 539.000-08

125

220

66

400,0

210,0

350,0

400,0

61,70

А14Б 539.000-09

125

220

66

400,0

210,0

350,0

400,0

62,70

А14Б 539.000-10

150

325

97,5

400,0

220,0

370,0

400,0

63,50

А14Б 539.000-11

150

325

97,5

400,0

220,0

370,0

400,0

64,90

А14Б 539.000-12

50

51

15,3

600,0

150,0

230,0

400,0

35,00

А14Б 539.000-13

50

51

15,3

600,0

150,0

230,0

400,0

35,90

А14Б 539.000-14

65

78

23,4

600,0

160,0

250,0

400,0

35,10

А14Б 539.000-15

65

78

23,4

600,0

160,0

250,0

400,0

36,00

А14Б 539.000-16

80

107

32,1

600,0

185,0

300,0

400,0

62,90

А14Б 539.000-17

80

107

32,1

600,0

185,0

300,0

400,0

63,80

А14Б 539.000-18

100

157

47,1

600,0

195,0

320,0

400,0

64,80

А14Б 539.000-19

100

157

47,1

600,0

195,0

320,0

400,0

65,80

А14Б 539.000-20

125

220

66

600,0

210,0

350,0

400,0

67,70

А14Б 539.000-21

125

220

66

600,0

210,0

350,0

400,0

68,70

А14Б 539.000-22

150

325

97,5

600,0

220,0

370,0

400,0

69,60

А14Б 539.000-23

150

325

97,5

600,0

220,0

370,0

400,0

70,90

А14Б 539.000-24

50

51

15,3

400,0

150,0

230,0

600,0

41,00

А14Б 539.000-25

50

51

15,3

400,0

150,0

230,0

600,0

41,90

А14Б 539.000-26

65

78

23,4

400,0

160,0

250,0

600,0

41,30

А14Б 539.000-27

65

78

23,4

400,0

160,0

250,0

600,0

42,20

А14Б 539.000-28

80

107

32,1

400,0

185,0

300,0

600,0

65,10

А14Б 539.000-29

80

107

32,1

400,0

185,0

300,0

600,0

66,10

А14Б 539.000-30

100

157

47,1

400,0

195,0

320,0

600,0

66,80

А14Б 539.000-31

100

157

47,1

400,0

195,0

320,0

600,0

67,80

А14Б 539.000-32

125

220

66

400,0

210,0

350,0

600,0

70,30

А14Б 539.000-33

125

220

66

400,0

210,0

350,0

600,0

71,30

А14Б 539.000-34

150

325

97,5

400,0

220,0

370,0

600,0

72,20

А14Б 539.000-35

150

325

97,5

400,0

220,0

370,0

600,0

73,50

 

Подбор и поставка

Уточним наличие и подготовим КП по этой позиции

Поможем с подбором исполнения, проверим доступность на складе и отправим коммерческое предложение по выбранной позиции или аналогам.

Смотрите также

Другие подкатегории раздела

Опоры подвижные трубопроводов
подвижные скользящие опоры трубопроводов. Подбор,консультация,продажа со склада в Москве, доставка по РФ
Накладка Т94 серия 4.903-10 выпуск 1 на тройники усиливающая
Накладка Т94 серия 4.903-10 выпуск 1
Крепления газопроводов УКГ Серия 5.905 - 18.05: Узлы и детали крепления газопроводов
Серия 5.905 - 18.05: Узлы и детали крепления газопроводов
Опоры водопровода в футляре
Опоры водопровода в футляре.Подбор,консультация,продажа со склада в Москве, доставка по РФ
Опоры 313.ТС-008.000 скользящие для трубопроводов в ППУ изоляции
Опоры 313.ТС-008.000 скользящие для трубопроводов в ППУ изоляции.Подбор,консультация,продажа со склада в Москве, доставка по РФ
Опоры ТД-1-487-1997.00.000 скользящие для трубопроводов в ППУ изоляции
Опоры ТД-1-487-1997.00.000 Подбор,консультация,продажа со склада в Москве, доставка по РФ
Серия 5.900-7 выпуск 3. Серия 5.900-7 выпуск 4
Серия 5.900-7 выпуск 3. Серия 5.900-7 выпуск 4.Подбор,консультация,продажа со склада в Москве, доставка по РФ
Опоры ГОСТ 30732-2006 скользящие опоры для стальных трубопроводов
Опоры ГОСТ 30732-2006/Подбор,консультация,продажа со склада в Москве, доставка по РФ