Логотип АстронЭнерго

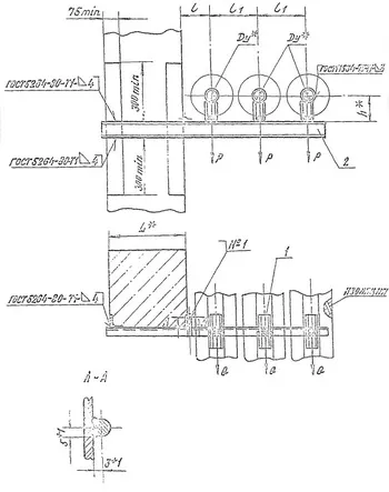
Опоры А14Б 533.000 серия 5.900-7 выпуск 2

Опоры А14Б 533.000 серия 5.900-7 выпуск 2

Опоры А14Б 533.000 серия 5.900-7 выпуск 2 подвижные корпусные приварные трехрядные с креплением к железнобетонной колонне Ду 50 - 100 мм

Опоры А14Б 533.000 применяются для крепления изолированных трубопроводов, транспортирующих воду и пар с температурой до +150°С, либо холодоноситель с температурой от -15°С до +15°С с максимальным давлением до 1,6 МПа (16 кгс/см2).
Стандартно  опоры А14Б 533.000 изготавливаются из марки стали Ст.3,20,09Г2С.
Стандартное покрытие — транспортировочный грунт ГФ-021.
Подвижные опоры А14Б 533.000 СБ изготавливаются в соответствии с чертежами серии 5.900-7 выпуск 1

1771658856642-132053913-opora-a14b-533-razmery-fill-350x443

Обозначение

Условный проход Ду, мм

Допускаемые нагрузки, кгс

Размеры, мм

Масса, кг

Вертикальн.

Горизонтал.

Р

Q

L

l

l₁

А14Б 533.000

50

51

15,3

400,0

150,0

230,0

11,40

А14Б 533.000-01

50

51

15,3

400,0

150,0

230,0

12,80

А14Б 533.000-02

65

78

23,4

400,0

160,0

280,0

13,50

А14Б 533.000-03

65

78

23,4

400,0

160,0

280,0

14,90

А14Б 533.000-04

80

107

32,1

400,0

185,0

300,0

19,30

А14Б 533.000-05

80

107

32,1

400,0

185,0

300,0

20,70

А14Б 533.000-06

100

157

47,1

400,0

195,0

320,0

25,50

А14Б 533.000-07

100

157

47,1

400,0

195,0

320,0

27,00

А14Б 533.000-08

50

51

15,3

600,0

150,0

230,0

12,80

А14Б 533.000-09

50

51

15,3

600,0

150,0

230,0

14,20

А14Б 533.000-10

65

78

23,4

600,0

160,0

280,0

15,20

А14Б 533.000-11

65

78

23,4

600,0

160,0

280,0

16,60

А14Б 533.000-12

80

107

32,1

600,0

185,0

300,0

21,80

А14Б 533.000-13

80

107

32,1

600,0

185,0

300,0

23,20

А14Б 533.000-14

100

157

47,1

600,0

195,0

320,0

28,60

А14Б 533.000-15

100

157

47,1

600,0

195,0

320,0

30,10

 

Подбор и поставка

Уточним наличие и подготовим КП по этой позиции

Поможем с подбором исполнения, проверим доступность на складе и отправим коммерческое предложение по выбранной позиции или аналогам.

Смотрите также

Другие подкатегории раздела

Опоры подвижные трубопроводов
подвижные скользящие опоры трубопроводов. Подбор,консультация,продажа со склада в Москве, доставка по РФ
Накладка Т94 серия 4.903-10 выпуск 1 на тройники усиливающая
Накладка Т94 серия 4.903-10 выпуск 1
Крепления газопроводов УКГ Серия 5.905 - 18.05: Узлы и детали крепления газопроводов
Серия 5.905 - 18.05: Узлы и детали крепления газопроводов
Опоры водопровода в футляре
Опоры водопровода в футляре.Подбор,консультация,продажа со склада в Москве, доставка по РФ
Опоры 313.ТС-008.000 скользящие для трубопроводов в ППУ изоляции
Опоры 313.ТС-008.000 скользящие для трубопроводов в ППУ изоляции.Подбор,консультация,продажа со склада в Москве, доставка по РФ
Опоры ТД-1-487-1997.00.000 скользящие для трубопроводов в ППУ изоляции
Опоры ТД-1-487-1997.00.000 Подбор,консультация,продажа со склада в Москве, доставка по РФ
Серия 5.900-7 выпуск 3. Серия 5.900-7 выпуск 4
Серия 5.900-7 выпуск 3. Серия 5.900-7 выпуск 4.Подбор,консультация,продажа со склада в Москве, доставка по РФ
Опоры ГОСТ 30732-2006 скользящие опоры для стальных трубопроводов
Опоры ГОСТ 30732-2006/Подбор,консультация,продажа со склада в Москве, доставка по РФ