Логотип АстронЭнерго

Опоры АПЭ 1378.0 серия 5.908-1

Опоры АПЭ 1378.0  серия 5.908-1

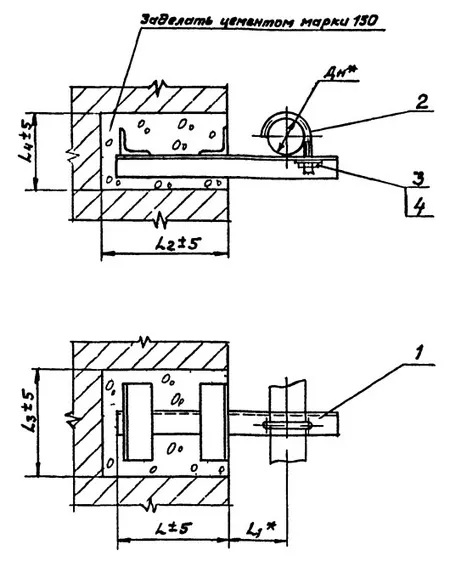
Опоры АПЭ 1378.0 серия 5.908-1 для крепления трубы к кирпичной стене Дн 50 - 219 мм

Серия 5.908-1 - это стандарт типовых узлов крепления трубопроводов автоматического пожаротушения, рассчитанные на одновременное действие вертикальных и горизонтальных нагрузок.

Опоры АПЭ 1378.0 СБ применяются для крепления к кирпичным стенам трубопроводов установок автоматического пожаротушения

Наружный диаметр прокладываемых трубопроводов Дн 50 – 219 мм

Стандартно  опоры АПЭ серия 5.908-1 изготавливаются из марок стали сталь 3, 20, 09Г2С. Стандартное покрытие – транспортировочный грунт ГФ-021.

Опоры для крепления труб к кирпичной стене АПЭ 1378.0 СБ изготавливаются в соответствии с чертежами типовых конструкций серии 5.908-1.

1769842834233-802691107-opora_ape_1378.0_sb_fill_250x180                                  1769842818020-884580104-opora_ape_1378.0_sb_razmery_fill_450x573

            

               

Обозначение Наружный диаметр трубопровода Дн, мм Теоретическая масса Расстояние от оси трубопровода до стены L1, мм Длина опоры, мм Глубина заделки опоры L, мм
АПЭ 1378.0 50…65 2.40 кг. 90 328 200 ±5
АПЭ 1378.0-01 70…89 2.80 кг. 125 376 200 ±5
АПЭ 1378.0-02 108…140 4.30 кг. 200 479 250 ±5
АПЭ 1378.0-03 152…159 6.70 кг. 280 618 250 ±5
АПЭ 1378.0-04 219 8.95 кг. 300 673 250 ±5

     

Подбор и поставка

Уточним наличие и подготовим КП по этой позиции

Поможем с подбором исполнения, проверим доступность на складе и отправим коммерческое предложение по выбранной позиции или аналогам.

Смотрите также

Другие подкатегории раздела

Опоры подвижные трубопроводов
подвижные скользящие опоры трубопроводов. Подбор,консультация,продажа со склада в Москве, доставка по РФ
Накладка Т94 серия 4.903-10 выпуск 1 на тройники усиливающая
Накладка Т94 серия 4.903-10 выпуск 1
Крепления газопроводов УКГ Серия 5.905 - 18.05: Узлы и детали крепления газопроводов
Серия 5.905 - 18.05: Узлы и детали крепления газопроводов
Опоры водопровода в футляре
Опоры водопровода в футляре.Подбор,консультация,продажа со склада в Москве, доставка по РФ
Опоры 313.ТС-008.000 скользящие для трубопроводов в ППУ изоляции
Опоры 313.ТС-008.000 скользящие для трубопроводов в ППУ изоляции.Подбор,консультация,продажа со склада в Москве, доставка по РФ
Опоры ТД-1-487-1997.00.000 скользящие для трубопроводов в ППУ изоляции
Опоры ТД-1-487-1997.00.000 Подбор,консультация,продажа со склада в Москве, доставка по РФ
Серия 5.900-7 выпуск 3. Серия 5.900-7 выпуск 4
Серия 5.900-7 выпуск 3. Серия 5.900-7 выпуск 4.Подбор,консультация,продажа со склада в Москве, доставка по РФ
Опоры ГОСТ 30732-2006 скользящие опоры для стальных трубопроводов
Опоры ГОСТ 30732-2006/Подбор,консультация,продажа со склада в Москве, доставка по РФ