Компенсатор «Энергия-Термо» сильфонный
Компенсатор «Энергия-Термо» сильфонный
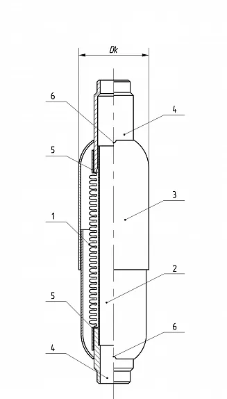
![]()
1. многослойный сильфон
Гибкая цилиндрическая «гармошка» из нескольких слоев тонкостенной нержавеющей стали. Приваривается к патрубкам через переходное кольцо из нержавеющей стали.
2. Внутренняя гильза (стабилизатор сильфона)
Отрезок трубы из нержавеющей стали, который приварен к одному из патрубков и может свободно перемещаться внутри второго. Применяется технологии "суперстабилизация" и "энергоэффективность".
3. Наружный декоративно-защитный кожух
Состоит из двух гладких полусфер из нержавеющей стали. Надежно защищает тонкостенный сильфон от механических повреждений, воздействия сварки,и т.д. Может быть использован при эксплуатации в условиях повышенной влажности. Используются технологии "вентилируемый сильфон" и "антикоррозия".
4. патрубки
Два отрезка трубы из высококачественной углеродистой стали. Служат для приварки компенсатора к стояку отопления.
5. переходное кольцо
Переходное кольцо из нержавеющей стали служит для надежной приварки тонкостенного сильфона из нержавеющей стали к патрубку из углеродистой стали.
6. отверстие для слива конденсата
Технологические отверстия для слива конденсата расположены в местах присоединения каждого из двух патрубков к защитному кожуху.
Технические характеристики компенсаторов "Энергия-Термо"
Актуальны для DN15-200 (поставляем DN15-500). Максимальная температура теплоносителя: +115°C. Рабочее давление: PN16
| DN | Обозначение | Осевой ход компенсатора (компенсирующая способность) сжатие/удлинение |
Полный осевой ход, мм |
PN | Диаметр компенсатора Dk, мм |
Эффективная площадь сильфона Sэфф, см2 |
Жёсткость осевого хода, kH/м |
|---|---|---|---|---|---|---|---|
| 15 | 16.015.32/10.2 | +32 мм / -10 мм | 42 | 16 | 50 | 9 | 12 |
| 15 | 16.015.42/20.2 | +42 мм / -20 мм | 62 | 16 | 50 | 9 | 12 |
| 20 | 16.020.32/10.2 | +32 мм / -10 мм | 42 | 16 | 50 | 9 | 12 |
| 20 | 16.020.42/20.2 | +42 мм / -20 мм | 62 | 16 | 50 | 9 | 12 |
| 25 | 16.025.32/10.2 | +32 мм / -10 мм | 42 | 16 | 55 | 12 | 13 |
| 25 | 16.025.42/20.2 | +42 мм / -20 мм | 62 | 16 | 55 | 12 | 13 |
| 32 | 16.032.32/10.2 | +32 мм / -10 мм | 42 | 16 | 65 | 18 | 26 |
| 32 | 16.032.42/20.2 | +42 мм / -20 мм | 62 | 16 | 65 | 18 | 26 |
| 40 | 16.040.32/10.2 | +32 мм / -10 мм | 42 | 16 | 77 | 25 | 25 |
| 40 | 16.040.44/22.2 | +44 мм / -22 мм | 66 | 16 | 77 | 25 | 25 |
| 50 | 16.050.32/10.2 | +32 мм / -10 мм | 42 | 16 | 91 | 48 | 29 |
| 50 | 16.050.47/23.2 | +47 мм / -23 мм | 70 | 16 | 91 | 48 | 29 |
| 65 | 16.065.32/10.2 | +32 мм / -10 мм | 42 | 16 | 107 | 57 | 34 |
| 65 | 16.065.50/25.2 | +50 мм / -25 мм | 75 | 16 | 107 | 57 | 34 |
| 80 | 16.080.32/10.2 | +32 мм / -10 мм | 42 | 16 | 119 | 76 | 40 |
| 80 | 16.080.50/25.2 | +50 мм / - 25 мм | 75 | 16 | 119 | 76 | 40 |
| 100 | 16.100.33/17.2 | +33 мм / -17 мм | 50 | 16 | 149 | 122 | 54 |
| 100 | 16.100.54/26.2 | +54 мм / -26 мм | 80 | 16 | 149 | 122 | 54 |
| 125 | 16.125.33/17.2 | +33 мм / -17 мм | 50 | 16 | 187 | 188 | 106 |
| 125 | 16.125.54/26.2 | +54 мм / -26 мм | 80 | 16 | 187 | 188 | 106 |
| 150 | 16.150.33/17.2 | +33 мм / -17 мм | 50 | 16 | 215 | 264 | 104 |
| 150 | 16.150.54/26.2 | +54 мм / -26 мм | 80 | 16 | 215 | 264 | 104 |
| 200 | 16.200.33/17.2 | +33 мм / -17 мм | 50 | 16 | 267 | 433 | 134 |
| 200 | 16.200.54/26.2 | +54 мм / -26 мм | 80 | 16 | 267 | 433 | 134 |
Поможем подобрать исполнение и типоразмер
Уточним различия между позициями в этом разделе, проверим наличие на складе и подготовим коммерческое предложение под ваш запрос.
В этом разделе пока нет позиций.